Топ-15 станков для бизнеса в гараже:
Станки для производства сетки рабицы
Сетка рабица является достаточно востребованной продукцией продолжительное время. Обусловлено это прежде всего ее практичностью и низкой стоимостью. Также в последнее время прослеживаются тенденции к декорированию рабицы и приданию ей презентабельного вида, с помощью фото-сетки или искусственной хвои. Изготавливать сетку рабицу можно в гараже, с помощью компактных станков, с производительностью в сотни погонных метров за смену. Станки бывают ручные, полуавтоматические и автоматические. Наиболее дорогими являются последние – примерная стоимость 250 000 рублей.
Экструдер
Экструдер – это установка для получения термопласткомпозита (тестообразной массы). Станок разогревает и перемешивает компоненты полимерпесчаного композита (полимер, песок, краситель). С помощью экструдера вы сможете производить облицовочную и тротуарную плитку, а также полимерпесчаную черепицу. Примерная стоимость — 500 000 рублей.
Вакуумно-формовочные станки и термопластавтоматы
Вакуумно-формовочная машина предназначена для изготовления изделий методом горячего формования из листовых термопластичных материалов. С помощью такой установки можно изготавливать разнообразные изделия:
- детали к автомобилям (бампера, подкрыльники, накладки и т.д.);
- разнообразные формы для отлива тротуарной плитки, искусственного камня и памятников;
- манекены;
- упаковки;
- вывески и т.д..
Примерная цена – от 75 000 рублей.
Для производства малогабаритных изделий из полимерных материалов, больше подойдет термопластавтомат. Автомат расплавляет пластик и под давлением подает его в ранее подготовленные формы.
С помощью автомата можно изготавливать любые пластиковые детали, без которых в наше время не обходится ни одна отрасль.
Примерная стоимость термопластавтомата – 350 000 рублей.
Станки дровоколы
Данные гидравлические станки созданы для повышения производительности и облегчения труда при заготовке дров. Такое оборудование позволяет обрабатывать от 5 кубов в час. Что касается бизнеса, то готовые колотые и фасованные дрова можно разместить для продажи возле различных магазинов и заправок. Также дрова можно заготавливать для частных домов. К примеру, распространить рекламные листовки в коттеджных районах. Таким образом можно найти постоянных клиентов, которым нужны дрова для мангалов, каминов и котлов отопления.
Примерная стоимость дровоколов — от 70 000 рублей.
Углевыжигательные печи
Также колотые дрова или остатки от них могут понадобиться в том случае, если вы решите возле гаража расположить углевыжигательную печь. С помощью такой печи можно получать древесный уголь. Продавать уголь можно в рестораны, кафе, шашлычные и другие предприятия. Примерная стоимость печи– от 100 000 рублей.
Гвоздильные станки
Станки для производства гвоздей достаточно компактны, поэтому их также можно использовать в гараже. Такие гвоздильные автоматы могут выпускать десятки тонн готовой в продукции в месяц. Типоразмеры гвоздей настраиваются.
Причины популярности
Может быть, такая мысль и стала основополагающим фактором производства магнитов, что произошло еще в далеком 1971 году. За прошедшие годы продукция данного типа претерпела множественные изменения и постепенно перешло из заводских конвейеров в малое предпринимательство. В настоящее время подобная бизнес-идея выглядит довольно привлекательно, так как для ее осуществления не требуется первоначальный взнос, дорогостоящее оборудование и большие временные затраты. В прошлые времена для таких целей использовали пресс, изделие для эмалирования. Сегодня же достаточно иметь простой компьютер, принтер и немного фантазии.
Однако утверждать, что такие изменения привели к тому, что потребность в сувенирах уменьшилась, а изготовление магнитов – дело не столь перспективное как раньше, нельзя. Стоит отметить, что постоянно идет смена символов эпохи, а спрос на продукцию, на которой изображены определенные символические изображения, интенсивно растет. Соответственно, на смену старым изделиям приходят новые, которые достойно занимают свое место на холодильнике.
Топ-10 работающих идей
1. Открытие торговой точки.

В гараже вполне можно открыть продуктовый магазин
В соответствии с действующим законодательством гараж относится к объектам стационарной торговли, а значит, в нём можно организовать магазин. Перед созданием бизнес-плана желательно проанализировать спрос на определённые группы товаров. Например, в крупном гаражном комплексе можно торговать автозапчастями или расходными материалами.
Для организации магазина помещение стоит утеплить и снабдить качественным оборудованием, что потребует достаточно много средств, времени и усилий.
2. Автомастерская.

Открыв автомастерскую, вы сможете помогать с ремонтом соседям по гаражу уже на возмездной основе
Если вы автолюбитель с большим стажем и способны быстро устранить даже самую серьёзную поломку, то открытие автомастерской станет идеальным вариантом начать зарабатывать на себя. Для этого вам понадобятся ручные инструменты (наборы гаечных ключей, отвёртки, домкраты и т.д.) и сварочный аппарат. Перед началом работы желательно позаботиться также о безопасности рабочего места и обустроить помещение.
3. Кузница в гараже.

Кузница – перспективный и малоконкурентный вариант
Художественная ковка является крайне востребованным видом деятельности. Эта затея поначалу может показаться довольно затратной из-за необходимости покупки дорогих материалов, но, на самом деле, из-за незначительной конкуренции на рынке при правильном подходе она быстро окупается.
4. Автомойка.

Для автомойки внутри гаража не потребуется основательно переоборудовать помещение
Автомойку можно организовать практически в любом гараже, нужно всего лишь обустроить помещение и территорию вокруг. Проведите воду и подготовьте систему канализации, позаботьтесь о пожарной безопасности и определитесь с оборудованием. Дополнительно можно организовать услуги по чистке салона и мойке двигателя.
5. Производство декоративных скульптур.
Изготовление садовых скульптур из гипса и бетона потребует минимум затрат, но при этом станет отличным способом создать доходное дело. Новичку в этом деле нужно будет научиться готовить раствор и купить формы для отливки: пенопластовые, деревянные или картонные.
6. Прачечная.
Открыв прачечную, можно привлечь внимание студентов из общежитий, испытывающих проблемы со стиркой
В небольших городках очень сложно найти общественную прачечную, поэтому подобный бизнес при условии отсутствия конкуренции может очень быстро окупиться. Для начала нужно обзавестись необходимой техникой и моющими средствами, а также провести грамотную рекламную кампанию. Лучшим вариантом станет организация прачечной в гараже возле студенческих общежитий.
7. Шиномонтаж.
Если гараж находится рядом с заправкой или проезжей частью, то целесообразно будет организовать сервис по шиномонтажу. Помещение должно отапливаться, иметь вентиляцию и хорошее освещение. Также вам понадобится дорогостоящее оборудование (компрессор, вулканизатор, домкрат, шиномонтажный станок), которое на начальном этапе бизнеса лучше взять в аренду.
8. Тюнинг автомобилей.

Тюнинг автомобилей даёт простор для творчества, но актуален только для больших городов
Любителям творчества по душе придётся перспектива создавать из обычных автомобилей нечто оригинальное и специфическое. Но, к сожалению, подобный вид бизнеса будет актуален лишь для жителей мегаполисов. В маленьких городах нелегко будет найти потребителей данной услуги, а значит, помимо закупки дорогих материалов, придётся значительно потратиться на рекламу.
9. Резка стекла.
В районах с большим скоплением производственных помещений гараж можно переоборудовать в мастерскую по резке стекла. Технология работы довольно простая, и при желании её может освоить даже новичок.
10. Сервис по диагностике неисправностей.

Как и его владельцу, автомобилю тоже нужна регулярная диагностика
Эта услуга пользуется большой популярностью у автолюбителей, поэтому вы можете хорошо заработать, диагностируя неисправности автомобиля. Вам нужно будет приобрести специальное программное обеспечение, адаптер и сканер для определения кода блока машины и отчёта об ошибках. Помните, что компьютерная программа должна регулярно обновляться, поскольку каждый сезон появляются новые марки автомобилей.
Самодельные приспособления по дереву для домашней мастерской
Самодельный фрезерный станок
Фрезерные станки, изготовленные в домашних условиях, могут выполнять одну или несколько операций. Предпочтение, конечно же, отдается многофункциональным приспособлениям, позволяющим сэкономить место в гаражной мастерской. С их помощью можно: • выполнить углубления определенной формы; • просверлить отверстия • сделать пазы; • обработать заготовки. Простейший фрезерный станок можно изготовить на основе дрели. Для этого ее закрепляют на стальной профиль или в фанерный корпус, а напротив нее располагают вращающийся зажим. Обработка деталей выполняется с помощью специальных резцов, удерживаемых руками.
Самодельный токарный станок
Создание своими руками токарного станка позволяет изготавливать из деревянных заготовок посуду, интерьерный декор и мебель. Такое устройство станет доступной альтернативой промышленным млделям, и поможет реализовать свой творческий потенциал. Самодельный токарный станок можно сделать из отдельных узлов и деталей:
- электромотора, используемого в качестве электропривода станка;
- передней бабки, в качестве которой может выступать электроточило;
- задней бабки, сделанной из дрели;
- упора для резцов;
- поперечных направляющих;
- станины, сделанной из металлопрофиля или балок.
Передняя и задняя бабки токарного станка являются основными рабочими элементами, между которыми размещается деревянная заготовка. Вращающееся движение от электродвижка передается на заготовку через переднюю бабку, задняя же остается статичной, отвечая за удержание заготовки. Если оборудовать самодельный токарный станок дополнительными приспособлениями – балясиной, трезубцем, копиром и другими, то его функциональность значительно увеличится.
Видео ниже демонстрирует, ка изготовить токарный станок своими руками.
Самодельный сверлильный станок
При необходимости высверлить точные отверстия в металлических, пластиковых или деревянных деталях, опытные мастера рекомендуют использовать сверлильный станок. В отличие от дрели, которая сильно вибрирует в процессе работы, такое устройство обеспечивает качественный результат, независимо от материала и толщины заготовки. Сделать простой сверлильный станок можно самостоятельно, использовав ту же домашнюю дрель, но установив ее в вертикальном положении на станину из мебельной плиты и прикрепив к металлической стойке. При необходимости такой станок можно оснастить асинхронным двигателем.
Как правило, домашние умельцы не останавливаются на изготовлении самых станков. Очень часто они работают над усовершенствованием уже имеющегося оборудования.
Видео, представленное ниже, демонстрирует полезные приспособления для токарного станка, расширяющие его функционал.
Опрокидыватель для гаража своими руками: пошаговая видеоинструкция
Наряду с созданием рассмотренных приспособлений для гаража можно позаботиться и о том, чтобы изготовить своими руками рабочие инструменты, которые понадобятся непосредственно для технического обслуживания авто.
Одна из наиболее полезных установок – опрокидыватель для осмотра днища машины. Потребность в таком изделии наиболее актуальна для российских реалий, поскольку далеко не в каждом случае есть реальная возможность строительства смотровой ямы.
Подробная видео инструкция с пошаговой схемой изготовления
Самостоятельное изготовление приспособлений гаража позволяет рационально организовать внутреннее пространство и по сути получить собственную мастерскую, в которой можно совершить любую текущую ремонтную работу.
Как сделать кузню своими руками: устройство кузницы
Со словом «кузня» обычно ассоциируется тёмное помещение с наковальнями, горнами, молотами и кузнечными клещами. Однако создание кузни своими руками значительно проще, чем кажется на первый взгляд. Кроме того, кузницу можно сделать довольно компактной, не приспосабливая под нее специальных помещений.
Собственно кузня — это помещение с оборудованием для проведения кузнечных работ. В кузне осуществляется разогрев заготовок металла и обработка их при помощи молотов и других кузнечных инструментов. Реже плавка металлов и сплавов для отливки, каких то элементов.
На самом деле, кузня вовсе не обязательно должна располагаться в помещении. В нашем случае кузница — это открытое пространство (или же пространство под навесом).
В кузне присутствует кузнечный горн — источник открытого огня. Из него часто выдуваются мелкие частички угля. Кроме того, металл обрабатывается в горячем состоянии около 800-900ºС. Поэтому пол в кузне должен быть не из горючих материалов и в близи работы горна и наковальни не должно быть электропроводов, так как часто раскалённые заготовки роняются на пол.
Наковальня кузнечная
Может быть практически любая, которую удастся найти. Главное чтобы края и рабочая поверхность наковальни были не сбиты (края должны быть ровными). При ударе молотком о настоящую кузнечную наковальню он должен от неё отскакивать, а сама наковальня должна сильно звенеть.
Наковальня может быть установлена либо на большой деревянный пень либо на сваренный из уголка каркас. Второй вариант более функционален, кроме того, он позволяет кантовать наковальню и устанавливать её в любое место двора или помещения без особых проблем.
Установка на пне, как правило, закрепляет наковальню на одном месте «навечно».
Высота установки наковальни обуславливается уровнем разгибания руки кузнеца: чтобы при ударе молотом — его поверхность была примерно параллельна земле.
Молот
Это обычный молоток. Но не такой как слесарный, у которого один конец тоньше. Молот — это молоток, у которого оба конца одинаково плоские. В отличие от кувалды молот имеет меньший вес (от 800 грамм до 2 кг) и короткую ручку для работы одной рукой.
Молот следует выбирать, исходя из собственных физических возможностей, чтобы работать им долго и не уставать
Очень важно, чтобы молот был сделан из хорошей стали, лучше использовать старый советский
Китайские молоты могут расколоться после нескольких ударов, а у некоторых в процессе эксплуатации появляются бороздки на рабочей поверхности, что свидетельствует о низком качестве металла.
Стуловые кузнечные тиски
Основным отличием кузнечных тисков от слесарных является металл, из которого они изготовлены. Кузнечные тиски изготовлены из инструментальной стали, по ним можно бить, не опасаясь расколоть тиски.
Кузнечные клещи с длинными ручками
Длинные ручки необходимы для работы с мелкими заготовками. Плюсом будет фиксирующее кольцо, которое скрепляет ручки «в замок», что позволяет не сжимать их с силой при работе с заготовкой.
Другие инструменты являются неспециальными или обычными слесарными.
Рекомендации по устройству кузницы
Это оборудование для полноценной кузни может разместиться в углу, на площади менее 1 квадратного метра, так как наковальню и горн можно двигать.
Если планируется работать в закрытом помещении, то в месте установки горна следует также дополнительно изготовить вытяжку.
Если кузня разместиться во дворе или под навесом, то вытяжка не нужна, при активном горении кузнечный горн выделяет мало дыма.
Капитальный ремонт
Чтобы начать строительство, стоит понимать, что будет в себя включать капитальный ремонт:
- Обновление (восстановление) ворот и стен.
- Смена напольного покрытия.
- Утепление (обшивка) потолка.
- Обновление (восстановление) кровли.
- Установка дополнительной гидроизоляции в подвале.
Выгодным вариантом при восстановлении гаража считается ситуация, когда стены, пол и крыша ремонтируются одновременно. Восстановление отдельных элементов больше относится к текущему ремонту.

Стены
Как правило, в гаражных помещениях стены возводятся из кирпича или бетона. Такие поверхности менее подвержены износу. Если на стенах и возникают небольшие повреждения, их легко устранить с помощью шпаклевки. Поверхность можно покрыть водоэмульсионной краской для лучшего вида. Масляную краску использовать не стоит, так как она пожароопасная.
Иногда хозяева гаражей хотят, чтобы оформление стен было красивым. В подобном случае можно использовать пластиковые панели, листы ДСП или фанеру. Тем не менее не стоит забывать и о том, что деревянные материалы гигроскопичны с одной стороны. Так, накапливая влагу, они становятся благоприятной средой для плесени и гнилостных бактерий. Пластик, в свою очередь, может создавать парниковый эффект, а также способствовать повышению влажности в гараже. В подобном случае может страдать транспортное средство из-за коррозии металла.
Также стоит подумать и об утеплении стен, что чаще всего делают с помощью пенопласта.

Пол гаража
На пол гаража приходится львиная доля нагрузки, что обязательно стоит учитывать при ремонте. Так, в него упираются массивные стеллажи, на которых находятся инструменты, на нем стоит транспортное средство. Также он может страдать от горюче-смазочных материалов и иных агрессивных жидкостей, которые, в любом случае, проливаются на него. По этой причине деревянные полы – не самая лучшая идея, так как они быстро выходят из строя и подвержены повреждениям.
В завершение пол можно покрыть плиткой, так как с нее довольно просто убрать те или иные загрязнения, а также ее не повреждает масло или бензин.

Утепляем и обшиваем потолок
Комфорт в гараже достигается путем обшивки и утепления потолка. Алгоритм и количество работ в этом случае будут зависеть от того, какая по конфигурации сама кровля. Так, если вы имеете дело с плоской крышей, можно сделать наружное утепление.
Лучше использовать керамзит. Благодаря гранулам сыпучего материала происходит сохранение тепла внутри, и холодный воздух не проникает в помещение гаража. По периметру кровли устанавливается специальный парапет для удерживания керамзита.
Бетонное основание очищается от сора. Если имеется такая необходимость, делается гидроизоляция с помощью рубероида.

Щипцы и совки
Среди вспомогательных инструментов можно выделить также приспособления по уходу за горном. Это совок, который предназначен для подсыпания в горн угля и удаления шлака. Для окучивания и подгребания угля при горении и очистке от шлака очага есть кочерга. Ее рабочий конец желательно расковать шире для более удобного подгребания угля. Пика помогает чистить очаг и пробивать шлак, который спекся.
Чтобы укладывать уголь и извлекать из горна крупные куски спекшегося шлака применяют щипцы. Благодаря метелке из стола и очага горна удаляется мелкий уголь, шлак и мусор. Она изготовляется из стальной тонкой проволоки диаметром до 0,2 миллиметра.
Весь комплект инструментов, чтобы ухаживать за горном, желательно сделать самому, поскольку это станет отличной практикой для освоения кузнечного ремесла. Нужно приложить к этому делу всю свою любовь и фантазию, поскольку инструмент, который делается для себя, должен быть удобным, а также радовать глаз. Данное относится ко всякому приспособлению в кузнице
Важно помнить, что инструмент является лицом кузницы. В давние времена просто сказывали, покажите инструменты кузнеца, и тогда будет ясно: плохой это мастер или хороший
От удобства и качества инструмента зависит итоговый результат работы.
Хранение колес и шин
Колеса с дисками разрешается подвешивать или же хранить лежа, друг на друге (стопкой). Шины без дисков можно хранить только в положении стоя, рядком, плотно прижав гранями. Колеса с дисками подвешивают на ремни, толстые металлические тросики или цепи. Их располагают на стенах или на потолке, на верхней потолочной балке.
Колеса и шины удобно хранить и на длинных металлических штырях или крюках, вбитых в стену. Если необходимо организовать хранение шин без дисков, то для них сооружают отдельные полки из профилированных труб или уголков. Полку по ширине делают такой, чтобы она вмещала четыре сезонных шины плюс еще порядка 10-15 см свободного пространства. Резину хранят либо в специальных чехлах, либо на полках, куда не попадают прямые солнечные лучи.
Кузница в гараже
Кузнец — одна из древнейших профессий, традиционно овеянная тайнами и легендами. Простейшую кузню можно оборудовать в своем гараже. Это не потребует особо сложного оборудования и больших затрат. Домашний мастер сможет создавать в ней как бытовые предметы, так и художественные объекты.
Кузня в гараже
Как построить кузнечно-слесарную мастерскую своими руками
Мини кузницу, возводимую своими руками, рекомендуется располагать не ближе, чем в 10 метрах от жилых построек. Это объясняется повышенной пожароопасностью традиционной кузнечной технологии.
Площадь, необходимая для удобного и безопасного размещения всего необходимого оборудования-от 15 кв.м. Высота потолка над горном и наковальней должна быть не менее 2,5 м. Лучше всего, чтобы постройка была кирпичной и каменной.
Пол обязательно должен быть из негорючего материала — бетонный или выложенный кирпичом или плиткой. Допускается глиняное покрытие, регулярно смачиваемой водой. Если стены и потолок деревянные, их следует покрыть толстым слоем известковой побелки.
Изделия, изготовленные в кузнице в домашних условиях
В помещении гаража, выделенного под кузню, должна быть устроена вытяжная вентиляция и обеспечено хорошее освещение. Проводка должна быть скрыта в металлические трубы или рукава.
Есть еще один вариант — кузню можно разместить под навесом, пристроенным к стенке гаража. Отпадает проблема с вентиляцией, однако комфортно работать в такой мастерской можно будет только в теплое время года.
Технология кузнечного дела требует размещения в выделенном под кузню отсеке гаража следующих основных единиц оборудования:
- Горн с топочными инвентарем (совок, кочерга и т.д.).
- Рундук с топливом.
- Вентилятор.
- Наковальня.
- Бочка для закалки.
- Тиски.
Ручной инструмент – молоты, клещи, просечки и пр. потребуют для себя полки, а лучше — полноценного прочного верстака.
Горн и наковальня располагаются так, чтобы к ним был доступ со всех сторон. Освещение лучше выполнить лампами накаливания или светодиодными лампами «теплого света» (с цветовой температурой 2700 К)- они не искажают цвета заготовки.
Обустройство кузни своими руками
По возможности дверь (или ворота) кузни следует направлять в сторону от дома.
Качественным инструментом в хорошем состоянии работать приятно и безопасно. Кроме того, хороший инструмент позволяет добиться высокого качества изделий.
Подбор инструмента начинают с ударного инвентаря. В него входят:
- Ручник. Небольшой молоток массой 500-2000 г, с рукояткой 35-60 см. Рукоятку следует сделать из лиственных деревьев и гладко отшлифовать.
- Кувалда. Тяжелый молот, массой 8-16 кг. Бойки у кувалды плоские, за длинную (до 120 см) рукоятку ее держат двумя руками и используют для ударов большой амплитуды и веса.
- Боевой молот. Молоток массой до 10 кг, держится двумя руками. Один боек плоский, другой — клиновидный, применяемый для разгона заготовки вдоль оси.
РучникКувалда
Клещи на длинных ручках предназначены для:
- извлечения раскаленной детали из горна;
- удержания ее в нужном для ковки положении.
Клещи должны иметь возможность удержания как крупных, так и мелких деталей, не допуская их проворота под ударами. Для этого у них должны быть удлиненные губки.
Измерительный инструмент – стальные линейки, угольники, мерные калибры, штангенциркуль, транспортир и т.п.
Клещи
Кузня в гараже рядом с домом должна также иметь емкость для охлаждения и закалки откованных изделий. Можно использовать обрезанную металлическую бочку.
Кузнечная наковальня
При выборе наковальни для мастерской в гараже важно обратить внимание на состояние рабочей поверхности и особенно закраин. На них не должно быть сколов и выбоин. Если ударить по поверхности молотом, она должна зазвенеть, а молот — отскочить
Если ударить по поверхности молотом, она должна зазвенеть, а молот — отскочить
Если ударить по поверхности молотом, она должна зазвенеть, а молот — отскочить
Если ударить по поверхности молотом, она должна зазвенеть, а молот — отскочить.
Устанавливают наковальню на мощную сварную раму. Такую конструкцию при необходимости можно оперативно перемещать с места на место силами одного человека. Если же удастся раздобыть крупный пень (не гнилой!)- то кроме надежного устойчивого крепления получится еще и амортизатор. Но двигать в одиночку его уже не получится.
Кузнечная наковальня
Высоту установки рассчитывают исходя из роста и длины рук кузнеца так, чтобы плоскость бойка при ударе с двух рук была параллельна рабочей плоскости.
Создание полезных приспособлений для гаража своими руками
Чтобы осуществлять ремонтные и сервисные работы, потребуется соорудить смотровую яму в гараже своими руками, размеры которой будут соответствовать габаритам авто, а также верстак для удобной работы, плюс снабдить помещение станками.
Основной набор инструментов и материалов для создания самодельного верстака для гаража включает:
- доски и деревянные бруски;
- крепежные элементы и стяжки;
- рубанок и другие инструменты для обработки дерева;
- лакирующий и столярный клеевые составы;
- наждачную бумагу и олифу.

Пример размещения в гараже полезных приспособлений: 1 — верстак с ручными станками, 2 — стеллажи и шкафы, 3 — стол для проведения различных ремонтных работ, 4 — полка для хранения шин, 5 — смотровая яма
Технология изготовления верстака в гараже своими руками: фото, чертежи
Верстак состоит из столешницы и подстолья, а также нескольких устройств зажимного типа. Высоту верстака в гараже следует подбирать с учетом собственного роста. Можно взять в качестве ориентира высоту кухонного стола в доме, за которым удобно работать. Обязательно составьте для создания верстака для гаража своими руками чертежи.
Обустройство гаража: как сделать верстак в помещении:
| Этап работы | Детали, размер в см | Тип крепления |
| Сборка столешницы | 20 досок (5х10х200) с пазами 2,5х2,5 в 5-ом и 16-ом элементе (шаг 25) | Клеевой состав металлические стяжки |
| Сушка | — | — |
| Изготовление ножек (4 шт.) | Брусок (10х10х80) с пазами под кронштейны на передних опорах | Кронштейны |
| Сборка основания подстолья | Рамы (2 шт.) из досок (5х10) | Соединение «в шип» на глубину 2,5 см и болты |
| Фиксация боковых и задних опорных стенок | Плиты ДСП (толщина 10 мм) | Шурупы |
| Фиксация столешницы к верхней раме | — | Болты |
Заключительная обработка предполагает пропитку готового изделия олифой и вскрытие лаком.
Рекомендации по созданию смотровой ямы в гараже своими руками
Не существует определенных размеров смотровой ямы в гараже. В качестве основы берутся габариты автомобиля.
Как сделать смотровую яму в гараж с оптимальными параметрами:
- Ширина подбирается с тем расчетом, чтобы внутри было достаточно места для работы. Размер ограничен расстоянием, на которое посажены колеса авто. Каждое колесо нуждается в небольшой площади для выполнения маневров. Средняя ширина ямы составляет 0,8 м.
- Длина ямы ограничивается длиной машины. К этому показателю следует добавить 1 м.
- Для расчета глубины используется рост владельца гаража. К нему прибавляется еще 10-15 см.
Как правильно сделать смотровую яму в гараж с использованием разных материалов:
| Материал | Толщина стенок, см |
| Керамический кирпич | 12-25 |
| Бетон | 15 |
| Строительные блоки | 20 |
Котлован вырывается с учетом оптимальной ширины ямы, материала, выбранного для стенок, а также толщины гидроизоляционного слоя. Этапы создания ямы:
- разметка;
- строительство котлована;
- обустройство котлована;
- строительство стен;
- прокладка освещения.
Для гидроизоляции стен применяется специализированная гидрофобная пропитка.

Схема обустройства смотровой ямы: 1 — стенки из пеноблоков, 2 — гидроизоляция, 3 — бутовая кладка. 4 — уголок размером 50х50х4 мм
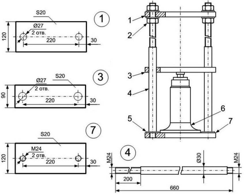
Изготовление пресса для гаража своими руками
Для создания пресса следует изготовить из 4 отрезков металлических труб каркас размером 178х80 см. Эти элементы соединяются методом сварки. В работе рекомендуется руководствоваться чертежами, заранее подобранными или составленными. После этого нужно установить:
- фиксатор;
- съемный упор;
- бутылочный домкрат (гидравлический).
Можно использовать для рассмотрения подробной технологии создания полезных приспособлений для гаража своими руками видео-материалы. Такие наглядные рекомендации помогают сориентироваться в размерах, освоить пошаговые инструкции и представить, какой внешний вид должна иметь готовая конструкция.

Схема изготовления гидравлического пресса: 1 — верхняя силовая платформа, 2 — гайки, 3 — нижняя платформа, 4 — шпильки диаметром 30 мм, 5 — нижняя резьба шпилек, 6 — гидравлический домкрат бутылочного типа; 7 — основание толщиной 20 мм
Обустройство гаража можно сделать собственными руками. На этом список полезных приспособлений не заканчивается. Его всегда можно дополнить любыми интересными идеями. Главное, чтобы гараж полностью соответствовал личным требованиям в отношении комфорта и удобства.
https://youtube.com/watch?v=D1BKvgCBg8Q
Оборудование для кузницы
Кузнечное оборудование условно можно разделить на основное и дополнительное. Основное оборудование — это, к примеру, тиски, которых должно быть несколько штук разного размера. Наковальня является основным упорным инструментом. Ее вес, в среднем, составляет сто килограмм. Для изготовления наковальни в основном используют высокоуглеродную сталь. Есть однорогие и двурогие наковальни. Горн – это еще одна важная составляющая кузницы. Этот инструмент нужен для термической обработки металла.

Кроме основного оборудования вам также потребуется ручной инструмент: кувалды, молотки, зубила и так далее. Бизнес-план кузницы должен в обязательном порядке включать полный перечень необходимого оборудования и инструментов. Нужен в кузнице и аппарат для сварки. Следует отметить, что расходы на укомплектование предприятия будут существенные. А конкретно:
- тиски маленькие и большие – 5 и 15 тысяч рублей за штуку соответственно (их потребуется двое-трое разного размера);
- наковальня – 50-60 тысяч рублей;
- горн – 40 тысяч рублей (однако для экономии средств можно сделать его и самостоятельно).
Ручной инструмент стоит недорого и представлен на рынке в широком ассортименте, поэтому здесь проблем не возникнет.
Кузнечное дело как бизнес невозможно без наличия краскопульта для покраски заготовок. На сегодняшний день на рынке представлен широкий ассортимент кузнечного оборудования. Поэтому с его приобретением особых сложностей возникнуть не должно.
Наковальня — верная напарница горна
Поэтому и располагаться она должна близко от него. Самой лучшей является двурогая ее разновидность. Горизонтальная площадка называется «лицом», поэтому его нужно беречь от всяких изъянов — только идеально отшлифованная поверхность гарантирует качество работы.
С одной стороны у наковальни расположен рог в виде конуса, здесь сваривают и раскатывают кольца. Недалеко от основания конуса находится круглое отверстие (15 мм), с помощью которого придается круглая форма изделиям. С противоположной стороны, где расположен «подбородок» нашего лица, гнут замкнутые прямоугольные детали. Тут тоже присутствует отверстие, но квадратное, его размеры — 30х30 мм.

Внизу у наковальни присутствуют 4 лапы, которые предназначены для ее крепления к основанию. Делается это скобами. Нужен этому инструменту и особый стул, изготовленный из дуба или березы, диаметр его должен быть порядка 600 мм. Для того, чтобы сделать подобие фундамента для наковальни, чурбак нужно углубить в землю на 50 мм, еще глубже — лучше. Это позволит избежать вибрации инструмента.
Кузнечный горн
Горн для кузни в гараже сваривают из листового металла толщиной от 5 мм либо разрезают газовый баллон. Его монтируют на сварной каркас (из 12 мм прутка или арматуры). Высота верхнего края должна быть на уровне пояса мастера.
Ко дну горна приваривают решетку колосника для размещения кусков угля.
Чтобы частицы угля не просыпались вниз, прутья решетки нужно сделать с небольшими промежутками.
Приточный патрубок от вентилятора- нагнетателя располагают с небольшим наклоном вниз. Так делают, чтобы избежать выдувания искр вверх.
Подробнее как сделать самодельный горн читайте в статье «Кузнечный горн своими руками«.

Полки в гаражной мастерской
Конструкции для хранения оборудования и инструментов могут быть следующих видов.
- Стационарные. Такие стеллажные системы монтируются навсегда. В них удобно разместить тяжелое, крупногабаритное оборудование, а также запасные части. Стационарные системы более надежные, отличаются устойчивостью. При этом они долговечны, просты в эксплуатации. Достаточно их иногда красить, подтягивать крепеж.
- Мобильные. Стеллажные системы на колесах удобно перемещать по гаражу, освобождая нужное пространство или подтягивая их в конкретную зону. При этом не забывайте, что крупногабаритные инструменты, запасные части и оборудование лучше в таких стеллажах не хранить.
- Подвесные. Тоже отличный вариант, обеспечивающий максимальную экономию пространства. Крепят полки особыми метизами, так как от них требуется особая прочность, чтобы выдерживать большие нагрузки.
Выбор за вами! Делайте мастерскую в вашем гараже удобной, практичной, безопасной и надежной.
Подводим итоги
Художественная ковка и изготовление кузнечных изделий – бизнес перспективный и прибыльный. Если в вашей кузнице будут работать высококвалифицированные профессионалы, и качество вашей продукции будет на высоком уровне, то все вложенные в организацию бизнеса средства окупятся довольно быстро. Если же вы планируете совмещать художественную ковку с изготовлением витражей, то гарантированно можете рассчитывать на успех и стабильный доход.
Следовательно, заниматься кузнечным бизнесом не так сложно и достаточно выгодно. К тому же все усилия и расходы будут оправданы
Важно только тщательно продумать даже самые мельчайшие детали и основательно подойти к организации дела: учесть все требования к помещению, приобрести качественные инструменты и найти для работы профессиональных и опытных мастеров кузнечного дела. Такой подход обеспечит вас спросом на продукцию и стабильной прибылью





































