Электрические мотоблоки для вспашки земли
На сегодняшний день сельское хозяйство трудно представить без специальной механизированной агротехники. Еще не так давно фермеры вспахивали почву вручную, но технический прогресс не стоит на месте и его развитие позволило значительно упростить жизнь и сохранить здоровье дачников. Появилось огромное количество механических устройств, способных существенно облегчить выполнение работ по обработке и культивации почвы. Особое место среди такой техники занимает мотоблок электрический. Он представляет собой универсальный механический агрегат для вспашки участков почвы средней величины.

Культиватор из велосипеда
Современная промышленность выпускает много вариантов мотоблоков и мотокультиваторов, однако далеко не каждому дачнику они по карману. Это не беда, потому что создать мотокультиватор своими руками тоже не очень сложно, особенно, если под руками имеются подходящие запчасти. Для изготовления такой нужной в хозяйстве вещи рекомендуют использовать, например, старый велосипед, на котором точно никто не будет кататься, а ремонт – уже безнадежное предприятие.
Создатели мотокультиватора из старого велосипеда уверены, что такое приспособление способно решить множество проблем не только на стандартных шести сотках, но и на довольно значительном пространстве. Для этого достаточно развернуть раму вниз концом для прикрепления сиденья, и приварить ручки к тем окончаниям, на которых крепились педали. Таким образом получается прекрасная замена той конструкции, которую сооружают из черенка и ручки. Останется только прикрепить основной инструмент, который можно сделать по тому же принципу, что и для ручного культиватора Торнадо.
С инструментами в этом случае будет посложней – потребуется болгарка и сварочный аппарат, а все остальное – молоток и набор ключей у настоящего дачника всегда имеется в хозяйстве.
Подробные инструкции можно посмотреть на видео:
Во втором видеоролике – даже устройство, позволяющее окучивать растения:
Примерные чертежи от автора на фото:

Прикрепленное колесо значительно уменьшает тяжесть работы и ее многочасовое использование:

Колеса на культиватор– тоже не проблема, они уже есть под рукой, снятые со старого велосипеда. Рациональное зерно в использовании такого приспособления – не только в значительной экономии средств на приобретение заводского устройства. На даче дорогую машинку не оставить, а в городской квартире для ее хранения попросту нету места. Несомненное удобство самодельного устройства – в ее спокойном хранении в зимнее время на участке.
Это интересно: Проекты домов с мансардой и балконом
Популярные модели
Для упрощения вопроса выбора того или иного электрического культиватора, рассмотрим несколько популярных моделей, пользующихся повышенным спросом на российском рынке.
Hyundai T2000-E
Hyundai T2000-E обладает цепным приводом, которые на фрезы агрегата. Обладает двумя боковыми колесами и одним передним, которое выполняет роль транспортировочного. Перед началом эксплуатации, переднее колесо необходимо поднять в верхнее положение.
Технические характеристики Hyundai T2000-E:
- тип используемого двигателя – электрический;
- показатель мощности – 2000 Вт/2,72 л.с.;
- глубина вхождения фрез – 250 мм;
- ширина обработки – 550 мм;
- число режущих элементов – 4 штуки;
- общая масса – 29,6 кг;
- диаметр фрез – 280 мм;
- тип редуктора – цепной.
При таких технических характеристиках, данный агрегат стоит около 19 тысяч рублей, в зависимости от региона продажи.
SunGarden T 35E
SunGarden T 35E используется для культивирования заранее вспаханной почвы, а также междурядных пространств. В конструкции также присутствует транспортировочное колесо, облегчающее процесс передвижения устройства. Обладает складной ручкой, что позволяет перевозить агрегат даже в легковом автомобиле.
Технические характеристики SunGarden T 35E:
- тип используемого двигателя – электрический;
- показатель мощности – 1500 Вт/2,04 л.с.;
- глубина вхождения фрез – 250 мм;
- ширина обработки – 460 мм;
- число режущих элементов – 4 штуки;
- общая масса – 25 кг;
- диаметр фрез – 260 мм;
- тип редуктора – цепной.
Техника на основе ДВС
Самоделки с установленными двигателями внутреннего сгорания обладают большей мощностью и функциональностью по сравнению с электрическими собратьями. Это позволяет существенно расширить сферу их использования. Навесное оборудование в виде плуга, плоскореза, культиватора, грабель, легко крепится на кронштейне рамы. Также агрегат можно легко трансформировать в каток или домашний мини-трактор.
Задавшись вопросом «как сделать самодельный мотоблок»,прежде всегонеобходимо разобраться в его устройстве. Чтобы собрать самодельный мотокультиватор своими руками необходимы, прежде всего, двигатель, трансмиссия и понижающий редуктор. Для сборочных работ понадобится стандартный набор инструментов: комплект гаечных ключей, дрель, болгарка, сварочный аппарат, а при сборке более сложных и грузоподъемных машин еще и токарная, и фрезерная обработка некоторых узлов.
Культиватор из бензопилы
Пожалуй, самым оптимальным вариантом при изготовлении самодельного мотокультиватора является использование при его создании двигателя от бензопилы. Плюсами здесь являются производительность и мощность агрегата, нетребовательность к топливу, малый вес и компактность. Да и с комплектующими при его сборке особых трудностей не возникнет. Все необходимое можно найти на авторынке или барахолках.
Электрокультиватор из мясорубки
Распространенная практика изготовления ручных культиваторов приобрела настолько широкую практику, что сейчас делают даже самостоятельно электрокультиваторы из двигателя от электрической мясорубки. Устройство настолько функционально, что может даже передвигаться самостоятельно, а по производительности они не уступают продукции знаменитой продукции ЛопЛош, знаменитого российского производителя. Люди ухитряются даже разместить пусковую кнопку на ручке, если работа осуществляется в ручном режиме.
Схема устройства электрокультиватора:

Инструменты нужны примерно те же, достаточно сварки, молотка и плоскогубцев, набора ключей. Так что если в распоряжении имеются необходимые детали – двигатель, уголки и трубки, велосипедные колеса, винт и лом и собственно электродвигатель.
Для такого мотокультиватора понадобится ходоуменьшитель, чтобы можно было уменьшать обороты мотора и работать на оптимальном режиме — его также вполне по силам сделать своими руками. Все зависит от того, какой тип устройства будет выбран.

Можно сделать культиватор из триммера, использовать мотор из электрической дрели, и по отзывам дачников, они просто не уступают агрегатам, изготовленным на МТЗ или на заводе. Положительные отзывы получены и от использования запчастей от Реверс Т-40.
Если как следует взяться за процесс и обладать определенными навыками, можно делать отличные варианты, как, например, здесь:
Для тех, кто хочет самореализоваться, дать простор фантазии и творчеству, использовать уже ненужные детали в новой плоскости и сэкономит на этом, оптимальный вариант – позаимствовать уже накопленный опыт и послушать советы.
Практическая смекалка нашего народа не дает усомниться в успешности любого начинания, которое облегчит труд и позволит значительно сэкономить средства. Ведь профессиональные агрегаты не так уж и необходимы на маленьком дачном участке.
Особенности
Электрический мотоблок – небольшая сельскохозяйственная машина с электродвигателем, работающим от сети или аккумулятора. Электродвигатель передает усилие через редуктор на рабочий узел культиватора, непосредственно контактирующий с почвой. Регулировать степень воздействия на грунт, его рыхление или вспашку можно при помощи рукояток. Кроме того, агрегат имеет специальный регулятор глубины с регулировочными болтами. Для удобства управления машина снабжена одним или парой колес (в зависимости от модели).

Конечно, владельцам сельхозугодий, требующих осуществления работ в промышленных масштабах, электрический мотоблок покажется бесполезной игрушкой. Но для приведения в порядок огорода на даче этот агрегат прекрасно подходит. На небольшом участке легко обеспечить постоянное питание от электрической сети или подзарядку аккумулятора. Что касается функциональности и производительности такого агрегата, то на частной территории он способен быстро и эффективно выполнить необходимый объем работ. Мотоблок с набором навесных орудий и инструментов способен решать весьма широкий спектр задач.

Электрические варианты абсолютно безвредны, с экологической точки зрения. Еще один плюс заключается в том, что такие машины являются почти бесшумными. Отсутствие вибрации и легкая управляемость позволяют пользоваться агрегатом пожилым людям и женщинам. По сравнению с бензиновыми или дизельными, электрические устройства оказываются более экономичными. При этом аккумуляторные модели не уступают бензиновым и дизельным машинам по маневренности.

По возможностям и размерам электрические мотоблоки можно разделить на три группы.
- Легкие мотоблоки (культиваторы) имеют наиболее скромные габариты. Назначение таких машин – работа в закрытом грунте оранжерей и теплиц. Также они используются для рыхления грунта на клумбах. Имея вес не более 15 кг, такая самоходная машина оказывается легкой в управлении и доступной для использования женщинами.
- Среднюю весовую категорию составляют электрические мотоблоки весом до 35 кг. Такие машины могут быть полезными на дачном участке стандартной величины. Среди них есть модели, способные вспахать огород площадью 30 соток. Для этого нужен лишь большой удлинитель.
- Тяжелые электромотоблоки способны работать на участках от 50 соток. Это довольно тяжелые машины весом до 60 кг. С их помощью можно обрабатывать даже целину.
Мотособака и каракат
Тот, кому довелось кататься на импортном мотобуксировщике, наверняка увидит в его конструкции очень много схожего с обычным мотоблоком. Почти такой же передний тяговый узел с двигателем, аналогичный способ передачи крутящего момента, схожие органы управления на руле. Не хватает только резиновых гусениц, с помощью которых мотособака будет тянуть сани и седока по заснеженному полю.


Реализуя свою мечту о мотобуксировщике, заядлые рыбаки и охотники могут пойти двумя путями: купить готовую снегоходную приставку или сделать ее своими руками.
Сегодня в промышленных масштабах производятся гусеничные приставки практически ко всем типам мотоблоков (Нева, Салют, Агат, Фаворит, Каскад, Форза и др.) Цена этого узла довольно высока (около 30 тыс. рублей).
Поэтому тот, кто старается сэкономить и при этом хорошо знаком с гусеничной ходовой конструкцией, может изготовить ее и лыжные сани самостоятельно. Для этого нужно сварить прочную раму, на которой разместятся двигатель и руль, ходовая и ведомая звездочки, а также два промежуточных вала с резиновыми катками.
Говоря о том, что можно сделать из мотоблока, стоит упомянуть и о такой интересной самоделке, как каракат. Сила этой машины в ее огромных колесах, представляющих собой обычные автокамеры, стянутые прочными ремнями.
Иногда для изготовления шин сверхнизкого давления используют автопокрышки от грузового транспорта. Их облегчают, аккуратно вырезая часть поверхности электрическим лобзиком, оставляя только часть борта и грунтозацепный протекторный рисунок.

На каракат из мотоблока ставят самодельные колесные диски, дорабатывая и расширяя стандартные автомобильные. На легкий мотоблок также можно поставить весьма оригинальный колесный диск. Для этого по контуру сваривают два алюминиевых тазика, вырезают дно под размер ступицы, снабжают их ребрами жесткости и боковыми ограничителями для фиксации камеры.

При внешней неуклюжести каракат на базе мотоблока на удивление проходим и устойчив. Он не только легко преодолевает заболоченные низменности, но при этом способен перевозить довольно значительный груз (до 100 кг).


Тот, кто планирует собрать квадроцикл, используя в качестве основы мотоблок, должен быть готов к тому, что сверхвысокой скорости на нем он не достигнет. Зато по маневренности и проходимости такой аппарат ничем не уступит более дорогому фирменному «брату».

Посадка в самодельном внедорожнике остается традиционной «мотоблоковской», а не мотоциклетной как в «квадрике». Делать своими руками колесные диски для такого квадроцикла не нужно. Можно использовать стандартные от любого легкового авто, рассчитанные на установку широкопрофильной «грязевой» резины.
Мотоблок на электрической тяге
У каждого крестьянина, живущего на своей земле, пусть даже и бедного, должен быть инструмент для её (земли) обработки. В начале у меня это была одна лопата, потом две, потом к ним добавились грабли и вилы, и, наконец, назрела необходимость приобретения механического устройства, в простонародье — мотоблока. Ну в самом деле, сколько ж можно спину на поле гнуть. Культпоход по магазинам в поисках чего-то подходящего поверг меня в уныние, всё » подходящее» стоило от 20 тысяч билетов банка России. Или больше. И тут, как всегда меня выручила . куча металлолома, который собирает у нас деревне один мой хороший знакомый.
Итак, из этого металлолома мне досталось то, что осталось, а именно: рама с каркасом, кусок мотора и шнеки от мотоблока «Крот», который где – то. когда-то. в советские времена что – то… у кого-то… в огороде пахал. Понятное дело, что всё доставшееся находилось в плачевном состоянии, ну конечно, кто же хорошую вещь в металлолом сдаст!
Для изготовления мотоблока на электротяге мне понадобилось следующее:
1. Собственно, сам мотоблок в виде кучи старого металлолома2. Электродвигатель от старого лифта на 4 кВт3. Конденсаторы 1. 3 мкф 400 В в количестве 70 штук.4. Выключатель 250В 10А5. Шнур с вилкой 5 м6. Изолента 2 рулона7. Болты, гайки для крепления двигателя к раме.8. Дрель, свёрла.9. Болгарка, сварка.
Перебрал редуктор, выправил кувалдой шнеки, и убрал всё лишнее, оставив только шкивы, раму и руль мотоблока. Даже не пытаясь восстановить разобранный двигатель, я сразу решил прикрутить вместо него . электромотор!
Тем более, что в гараже уже давно ржавел двигатель на 4 кВт от грузового лифта. Он тоже достался мне по случаю, когда в магазине у знакомого меняли грузовой лифт. Весь лифт забрать не удалось, мне достался только электромотор.
Как оказалось, мотор был трёхфазный, на 380 В, поэтому пришлось переделывать схему его подключения к однофазной сети 220В с помощью фазосдвигающего конденсатора.
Схем и формул для расчета в интернете на эту тему полно, после непродолжительного поиска и нескольких практических экспериментов я выбрал вот такую.
Ранее я много раз пользовался различными бензиновыми мотоблоками, брал их напрокат у друзей или соседей. Но теперь почувствовал, как говорится, разницу. Впечатления от работы — фантастические, пашет быстро, без шума и дыма, всем нравится и все хотят попробовать! Шестиметровую грядку в два прохода вспахивает за 7-8 минут. И стоимость эксплуатации такого электромотоблока в разы ниже и проще, чем бензинового.
По ходу работы выяснилась, что если приноровишься, то нисколько провод не мешает. Удлинитель у меня используется самодельный, на 30 м, из простого осветительного провода. И хорошо, что он не мощный, и не фирменный. Однажды я его (провод) всё-таки зажевал. Так он просто порвался, и мотоблок остановился. Даже автомат на щитке не сработал, и не заискрило ничего. Потом просто соединил концы, заизолировал, и снова в бой.
И ещё одна интересная деталь. Когда я хотел заточить режущие кромки у шнеков, то мой сосед, местный крестьянин, увидел, и меня отговорил. Дело в том, что если края у шнека острые, то корни сорняков (особенно вьюнок) перерезаются лопастями и потом очень быстро отрастают, причем вдвое большим количеством. А если края тупые, то корни и трава наматываются на шнеки, и потом её просто руками выковыриваешь и выбрасываешь. Вот такая прополка заодно с пахотой.
Самодельный электрический мотоблок
Для изготовления электрического мотоблока своими руками понадобятся некоторые материалы, которые доступны владельцам приусадебных участков. Процесс изготовления такого устройства можно разбить на несколько технических операций:
1. Несущая рама является одним из основных элементов оборудования. Для её изготовления понадобится швеллер и уголок. Ширина рамы должна соответствовать габаритам двигателя и редуктора. В качестве ручек можно использовать куски трубы нужных размеров. Трубы следует приварить к обеим сторонам металлической рамы. После этого винтами к трубам нужно закрепить бронзовую вставку, которая будет выполнять функцию оси.

2. Для эффекта скольжения можно использовать шарикоподшипники, которые подбираются соответствующего диаметра. Для фиксации рукояток к трубе нужно приварить специальные кронштейны. Для того чтобы закрепить культиватор и держатель плуга, нужно приварить кронштейн в средней части трубы. Используя винты, на тело рамы в специальные прорези в боковых ребрах нужно установить площадку. Для крепления электродвигателя в площадке следует сделать специальные отверстия.
3. Посредством ремня шкив на бронзовой оси соединяется с таким же элементом на электродвигателе. При помощи цепи движение передаётся звёздочке, находящейся несколько ниже. Для этих целей можно использовать обычную велосипедную цепь.

4. Движение мотоблока будет осуществляться за счёт рабочего приспособления, которое непосредственно обрабатывает почву. Изогнутые ножи нужно закрепить на квадратной пластине, а удерживаться они будут благодаря шпонке, находящейся на нижней оси. При вращении вала будет происходить рыхление почвы и передвижение всего модуля. Редукция создаётся посредством соотношения шкивов и звёздочек.
5. Управление движением осуществляется посредством переключателя, который нужно разместить на ручке держателя. Подключить двигатель к сети можно при помощи провода, намотанного на катушку.

В целом, изготовление самодельного электрического мотоблока не требует специальной технической квалификации. При его изготовлении следует соблюдать элементарные правила эргономики и безопасности для владельца такого сельскохозяйственного оборудования.
На что похожа механизированная конструкция?
Представим идеи из чего можно сделать простой мотоблок. Во-первых, главный узел – это двигатель внутреннего сгорания (ДВС). Чаще одноцилиндровый, чтобы расход бензина был меньше. Во-вторых, конструкция должна позволить пахать, полоть и стать транспортным средством.

На мотоблок можно навесить ряд самодельных устройств, облегчающих работы на огороде. Наиболее необходимые: отвальный или безотвальный плуг, барабанный или лапчатый культиватор, косилка травы с минимальным захватом или насос для подачи воды из любого источника.

Сразу возникнет вопрос: какой расход бензина? На мотоблоке ставится бак на 4 литра. Его достаточно на полдня работы двигателя. Но только если это не целинный (уплотненный) участок, а часто обрабатываемый, пусть и лопатой.

Как сделать самодельный колесный вездеход

Пример чертежа вездехода на шинах низкого давления
Есть смысл оснастить базовый агрегат понижающим редуктором. Причина в том, что лучшие показатели по крутящему моменту бензиновые и дизельные двигатели имеют при частоте вращения коленчатого вала примерно в 75-85% от максимальной.
Рама вездехода
Пример чертежа рамы-переломки
Между передним и задним мостами создается рама. В основу лучше использовать профильные трубы прямоугольного или квадратного сечения. Они обеспечивают большую жесткость, чем катаные уголки, швеллеры и двутавры той же массы.
Стыковка элементов рамы колесного вездехода может быть жесткой, тогда он будет сформирован в однообъемном формате. При использовании тяжелых мотоблоков «Нева» или МТЗ такой вариант станет предпочтительным.
Как вариант, изготавливают ломающуюся раму (переломка), вариант используется для местностей со сложным профилем. Здесь сочленение выполняется через шкворень. Передний и задний мосты имеют независимую друг от друга подвеску. Такие вездеходы мастера создают на базе мотоблоков «Нева» и «Угра».
Задний мост и подвеска самодельного вездехода

Некоторые самодельщики для упрощения конструкции используют готовый задний мост от легкового автомобиля. Например, от автомобиля «Москвич-412»: его небольшая масса позволяет выполнить монтаж на легком вездеходе. Подвеска выполняется на амортизаторах для плавного хода и пониженной вибрации.
Другие мастера делают независимую подвеску на каждое заднее колесо. Такой подход реализован на мотороллере «Муравей». При движении ощущается небольшое раскачивание, в то же время колеса испытывают меньшее сопротивление на неровностях, заметно снижается расход топлива.
Соединяют задний мост с рамой длинными закаленными болтами. Для эластичного сочленения применяют резиновые вставки, например, сайлентблоки. Это улучшает эксплуатационные характеристики вездехода на базе мотоблока.
Колеса (камеры низкого давления)

Чтобы двигаться по влажному и зыбкому грунту можно применить грунтозацепы. Они обеспечивают высокое сцепление. Еще лучше ведут себя камеры низкого давления большого диаметра. Пневматики имеют минимальное давление на грунт, а наличие воздуха, заключенного в камерах вездехода, позволят создать плавающий вездеход.
Преимущества электрического мотоблока над бензиновым
Электрический мотоблок гораздо выгодней своего бензинового сородича по нескольким причинам:
- компактность и легкость в обращении;
- низкая стоимость оборудования;
- экологически чистый;
- идеально подходит для женщин и пожилых людей.
Современные мотоблоки электрические рассчитаны на обработку небольших участков земли. Превосходно работают на узких грядках, когда необходимо взрыхлить землю между деревьями, кустарниками и различными культурами. Хорошо работают около домов и заборов. Ручная машина с легкостью заменяет ручной труд, предоставив возможность получать удовольствие от работы на приусадебном участке.
Мотоблок на электрической тяге
У каждого крестьянина, живущего на своей земле, пусть даже и бедного, должен быть инструмент для её (земли) обработки. В начале у меня это была одна лопата, потом две, потом к ним добавились грабли и вилы, и, наконец, назрела необходимость приобретения механического устройства, в простонародье — мотоблока. Ну в самом деле, сколько ж можно спину на поле гнуть. Культпоход по магазинам в поисках чего-то подходящего поверг меня в уныние, всё » подходящее» стоило от 20 тысяч билетов банка России. Или больше. И тут, как всегда меня выручила . куча металлолома, который собирает у нас деревне один мой хороший знакомый.
Итак, из этого металлолома мне досталось то, что осталось, а именно: рама с каркасом, кусок мотора и шнеки от мотоблока «Крот», который где – то. когда-то. в советские времена что – то… у кого-то… в огороде пахал. Понятное дело, что всё доставшееся находилось в плачевном состоянии, ну конечно, кто же хорошую вещь в металлолом сдаст!
Для изготовления мотоблока на электротяге мне понадобилось следующее:
1. Собственно, сам мотоблок в виде кучи старого металлолома2. Электродвигатель от старого лифта на 4 кВт3. Конденсаторы 1. 3 мкф 400 В в количестве 70 штук.4. Выключатель 250В 10А5. Шнур с вилкой 5 м6. Изолента 2 рулона7. Болты, гайки для крепления двигателя к раме.8. Дрель, свёрла.9. Болгарка, сварка.
Перебрал редуктор, выправил кувалдой шнеки, и убрал всё лишнее, оставив только шкивы, раму и руль мотоблока. Даже не пытаясь восстановить разобранный двигатель, я сразу решил прикрутить вместо него . электромотор!
Тем более, что в гараже уже давно ржавел двигатель на 4 кВт от грузового лифта. Он тоже достался мне по случаю, когда в магазине у знакомого меняли грузовой лифт. Весь лифт забрать не удалось, мне достался только электромотор.
Как оказалось, мотор был трёхфазный, на 380 В, поэтому пришлось переделывать схему его подключения к однофазной сети 220В с помощью фазосдвигающего конденсатора.
Схем и формул для расчета в интернете на эту тему полно, после непродолжительного поиска и нескольких практических экспериментов я выбрал вот такую.
Ранее я много раз пользовался различными бензиновыми мотоблоками, брал их напрокат у друзей или соседей. Но теперь почувствовал, как говорится, разницу. Впечатления от работы — фантастические, пашет быстро, без шума и дыма, всем нравится и все хотят попробовать! Шестиметровую грядку в два прохода вспахивает за 7-8 минут. И стоимость эксплуатации такого электромотоблока в разы ниже и проще, чем бензинового.
По ходу работы выяснилась, что если приноровишься, то нисколько провод не мешает. Удлинитель у меня используется самодельный, на 30 м, из простого осветительного провода. И хорошо, что он не мощный, и не фирменный. Однажды я его (провод) всё-таки зажевал. Так он просто порвался, и мотоблок остановился. Даже автомат на щитке не сработал, и не заискрило ничего. Потом просто соединил концы, заизолировал, и снова в бой.
И ещё одна интересная деталь. Когда я хотел заточить режущие кромки у шнеков, то мой сосед, местный крестьянин, увидел, и меня отговорил. Дело в том, что если края у шнека острые, то корни сорняков (особенно вьюнок) перерезаются лопастями и потом очень быстро отрастают, причем вдвое большим количеством. А если края тупые, то корни и трава наматываются на шнеки, и потом её просто руками выковыриваешь и выбрасываешь. Вот такая прополка заодно с пахотой.
Получайте на почту подборку новых самоделок. Никакого спама, только полезные идеи!
*Заполняя форму вы соглашаетесь на обработку персональных данных
Учимся создавать бензиновый лодочный мотор
Такое изделие выгоднее, поскольку обладает увеличенной мощностью. Оно гарантирует прирост скорости, что подразумевает охват большей площади для подбора хорошего места для ловли рыбы.
- Мощность всегда на одном уровне, что не скажешь об электрическом двигателе, у которого много недостатков и занимает полезную площадь аккумулятор.
- Допускается использование агрегата от триммера, бензопилы, мотоблока и других изделий работающих на основе бензина. Выбор зависит от лодки, доступного крепления и финансовых возможностей.
- Оптимальным вариантом считается триммер, поскольку необходимы не большие доработки. Придётся заменить устройство для закрепления лески и добавить гребной винт. И всё двигатель можно использовать на лодке.
- В других случаях придётся добавить редуктор, гребной винт, вал и внести другие доработки. И сам процесс соединения такой системы с учётом надёжной работы не отличается упрощёнными действиями. Необходимы, более, серьёзные навыки в сравнении со сборкой и настройкой электрического привода.
В обоих рассмотренных случаях необходимо учитывать, что ещё придётся продумать процесс установки двигателя на лодку. Особенно это сложно в случае надувного либо резинового изделия.
Как сделать электромотоблок своими руками?

Надежный электрический мотоблок для вспашки земли совершенно спокойно можно сделать собственноручно. Это не дорогостоящее удовольствие и не требующее особых денежных вложений. Электромотоблоки достаточно легко собираются, а все необходимые детали можно приобрести в свободной продаже. Конструирование своими руками состоит из нескольких шагов:

на первом этапе изготавливается рама. Для этого понадобится швеллер и уголок
Важно учитывать, чтобы размер рамы и мотора был одинаков. Для роли ручек лучше всего приварить две трубы по краям рамы, после этого ручки закрепляются металлической вставкой, которая несет функцию оси;
для отличной фиксации следует прикрепить кронштейн посередине трубы
На раму монтируется небольшая площадка для установки электродвигателя;
колесо, которое передает движение ремню, соединяется с аналогичным колесом на электрическом двигателе. Далее цепь передает движение ниже установленной звездочке. Велосипедная цепь отлично справится с этой задачей;
электрический мотоблок для вспашки земли предполагает наличие навесного оборудования на машине. Вариаций существует огромное множество, хорошо могут подойти изогнутые металлические ножи, которые смогут углубиться в землю и с легкостью ее взрыхлить;
для облегчения работы рекомендуется установить специальную катушку, на которую будет наматываться лишний провод. Управление лучше всего осуществлять при помощи выключателя. Электрический мотоблок своими руками готов.
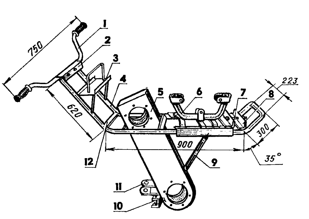
Делаем раму
Все агрегаты мотоблока базируются на одной раме. Конструкция рамы: два лонжерона, передние и задние концы которых загнуты кверху, а передние — еще и встречно и соединены сваркой. К задним концам, также сваркой, присоединена конструкция от мотоцикла «Иж» — руль с рычагами управления. Материал лонжеронов — стальная водопроводная труба (дюйм с четвертью).

Чертеж рамы мотоблока собранного своими руками
По длине лонжероны соединены несколькими поперечинами. Передняя из них — упор для натяжителя цепи 1-й ступени трансмиссии. Поперечинами служат и некоторые детали мотоблока — например, площадка под аккумуляторную батарею.
Один из компонентов рамы, картер редуктора, служит и стойкой между силовым агрегатом и ходовой частью. К нижней задней части картера можно подцепить культиваторный подрамник или двухосную тележку для перевозки грузов.
Как сделать электрический мотоблок своими руками
Электрические мотоблоки можно использовать как в теплицах, так и на земельных участках, которые имеют ограниченную площадь. Такое ограничение вызвано необходимостью доступа к электросети.
Некоторые модели имеют аккумуляторные батареи, что позволит использовать такие устройства на пересечённой местности. При эксплуатации электромотоблока необходимо предотвращать перегрев двигателя, периодически позволяя ему охладиться. Для продления рабочего ресурса такие устройства также не рекомендуется применять на тяжёлых, не вспаханных почвах.

В качестве примера можно рассмотреть электрический мотоблок «Электрокрот», который был изготовлен своими руками на базе бензинового модуля. Оснащённая электрическим двигателем модель обладает весомыми преимуществами по сравнению с бензиновыми аналогами. А именно:
— удобство в эксплуатации;
— простота в техническом обслуживании;
— экономичность в работе, учитывая отсутствие расходов на приобретение топлива;
— отсутствие вредных выбросов;
— доступность запасных деталей;
— невысокая стоимость, учитывая сборку своими руками.
В качестве дополнительного достоинства можно выделить автоматическое отключение электродвигателя в случае его перегрева. Такая функция может существенно продлить рабочий ресурс электрооборудования. Благодаря регулируемой под рост оператора рукоятке повышается эргономичность мотоблока.





































