Как собрать снегоуборщик для мотоблока своими руками

Самодельный снегоуборщик к мотоблоку
В магазинах сельхозтехники продаются разные механизмы для работы не только на поле, но и на улице. Имеется в продаже и снегоуборочное навесное оборудование для мотоблоков. Все эти механизмы прекрасно справляются со своей работой и претензий к ним мало.
Но стоят они неоправданно дорого, и не у всех есть возможность приобрести их. Поэтому мастеровые люди разрабатывают свои аналоги промышленных механизмов и снегоуборщиков, в частности, и делают их в домашних мастерских.
Прежде всего, надо знать, что есть всего четыре основных типа снегоочистителей:
- Бульдозерного типа. Спереди устанавливается отвал.
- Шнековый. Снег захватывается и перемещается шнеком к отверстию трубы для выброса снега.
- Вентиляторно-лопастной. Снег попадает на лопасти вентилятора, поднимается ими к наклонной трубе и вылетает через нее.
- Воздушно-вентиляторный (принцип пылесоса). Масса слипшихся снежинок втягивается воздушной струей и выбрасывается с другой стороны.
На селе, в отличие от города, где применяются все четыре типа, уборка снега происходит мотоблоками, выполненными по первым трем вариантам. На последний необходим двигатель большой мощности.
Как сделать снегоуборщик для мотоблока

Состоит из мотоблока с адаптером, к которому прикреплена снегоуборочная насадка, представляющая собой самодельный отвал (наподобие бульдозерного), которым и расчищают сугробы. В качестве ножа заостренный металлический лист, которым подрезают пласт снега, отвозят и отбрасывают в сторону.
Детали отвала вырезаются из стального листа и свариваются. Снизу приваривается нож. Отвал крепится к основному блоку с помощью штанг (2) и кронштейнов (3). Тяги закрепляются в проушинах отвала и через ролики или металлические трубки подводятся к ручкам управления.
Применение механизма без адаптера не эффективно.


Фактически, это снегоуборочная насадка на мотоблок. К блоку прикрепляется шнековый (роторный) механизм, который состоит из:
- открытого короба;
- шнека;
- трубы для выброса снега;
- вала;
- редуктора (ставится не всегда);
- передаточного механизма (звездочка с цепью), который на данном рисунке не виден.
Самодельная снегоуборочная приставка к мотоблоку подобного типа выполняется из металлических листов и труб.
Короб сваривается из листового материала. Нижние концы короба загибаются, чтобы получить подобие лыж. На вал, выполненный из трубы калибром не менее 5 см, посередине наваривается захват, состоящий из двух отдельных П-образно загнутых пластин, повернутых на 180 градусов относительно друг друга.
К ним приваривается шнек, выполненный из 4-х колец, по двое с каждой стороны. Кольца вырезаются из листа, разрезаются с одной стороны и их концы раскрываются примерно на величину диаметра, причем конец одного сваривается или склепывается с началом другого.
Один конец кольца приваривается к лопасти захвата, а второй усиливают полосой стали, приварив ее одной стороной к валу, а другой на расстоянии 5-10 см от свободного конца.
Сзади захвата прорезается круглое или квадратное отверстие, в которое вваривается загнутая труба соответствующего калибра. Расстояние между задней стенкой короба и лопастями захвата, когда они подходят к отверстию, должно быть минимальным.
Вал крутится в подшипниках, которые закреплены в стаканах на боках короба, и выходит из короба на 5-10 см. На его конце приваривают звездочку или систему звездочек (для смены скоростей) и соединяют с мотоблоком цепью.
Как сделать снегоуборщик своими руками из триммера

Под выражением снегоуборочная машина из триммера своими руками подразумевается изготовление снегоочистительной насадки. Фиксируется она к штанге мотокосы вместо рабочей головки. Крутящий момент передается через родной редуктор. Насадка представляет собой небольшой круглый корпус с колесиками, внутри которого на подшипниках вращается нож. Рабочий элемент можно собрать своими руками в форме шнека или крыльчатки с лопастями. Второй вариант проще, а первый – производительнее. Для корпуса подойдет отрезок трубы диаметром 300 мм, старый газовый баллон или пивная бочка.
Пошагово собирают снегоочиститель из триммера своими руками в следующем порядке:
- Определившись с типом снегоуборщика (роторный или шнековый), рисуют своими руками или находят в Интернете чертеж. Согласно схеме из стальных трубок, уголков и пластин сваривают каркас, на котором будут смонтированы все элементы снегоочистителя.
- Если решено пойти по простейшему пути, переделав мотокосу на роторный снегоуборщик, приступают к изготовлению корпуса из бочки или газового баллона. Труба для такой конструкции невыгодна из-за отсутствия дна. Придется дополнительно вваривать заглушку. Лучше отдать предпочтение пивной бочке, так как она не будет ржаветь от контакта с влагой. От емкости болгаркой со стороны днища отрезают кусок длинной 150 мм.
- На днище полученной заготовки точно определяют центр. По метке сверлят отверстие. Его размер на 2-3 мм больше диаметра вала редуктора триммера. Вокруг основного сверлят маленькие отверстия. Их диаметр, количество и расположение зависит от модели редуктора мотокосы. Обычно на корпусе 3 отверстия. Чтобы получилось точное совпадение, редуктор прикладывают к днищу и выполняют разметку.
- Для выбрасывания снега из корпуса снегоочистителя нужен дефлектор. Его располагают на боковой части заготовки. Продумав, где будет верх корпуса, в боковой полке вырезают отверстие диаметром 100 мм. Можно окошко своими руками вырубить с помощью зубила квадратной формы, но усложнится процесс изготовления патрубка. Проще сваркой прорезать круглое отверстие. Патрубок дефлектора приварить из куска трубы длиной 100 мм.
- Из листовой стали своими руками вырезают полукруг. Фрагмент по размеру должен закрывать 1/3 часть торца корпуса. Элемент приваривают в верхней части со стороны дефлектора.
Все детали снегоуборщика готовы. Осталось их собрать в одну конструкцию, установить на триммер. Первым делом редуктор мотокосы прикручивают болтами к торцу корпуса. Вал должен свободно вращаться без зацеплений. Корпус болтами фиксируют к раме. В зависимости от выбранного механизма передвижения снегоуборщика, устанавливают колесики или лыжи. На вал редуктора надевают крыльчатку. Пробуют руками прокрутить, убеждаясь в свободном ходе. Запускают двигатель мотокосы. Пробуют пройтись снегоуборщиком по снегу. Ручкой управления служит штанга триммера. Если все правильно собрано, во время движения снегоуборщика из отводящего колена полетит снег.
Простой и надежный самокат с мотором от бензо-триммера
Приветствую всех любителей помастерить, предлагаю к рассмотрению инструкцию по изготовлению простого бензинового самоката. Мотор автор использовал от бензотриммера, к нему можно купить понижающий редуктор, на который устанавливается звездочка под цепную передачу. Подобные редуктора имеют название редуктор t8f, заказать из можно из Китая. Колеса автор использовал от велосипеда, самоделка разгоняется до 40 км/ч, чего вполне достаточно для такой легкой и небольшой техники. Конечно, если покрутить карбюратор, можно выжать из двигателя и более высокую мощность и обороты. Если самоделка вас заинтересовала, предлагаю рассмотреть ее более детально!
Список материалов:
— мотор от бензокосы; — редуктор t8f; — профильные трубы; — цепь и звездочки; — колеса от велосипеда и части рамы; — листовой металл для пола; — стальные пластины; — болты, гайки, пластиковые стяжки и пр.Список инструментов: — сварочный аппарат; — болгарка (УШМ); — дрель; — краска по металлу. Процесс изготовления самоделки:
Шаг первый. Установка ведомой звездочки
Ведомую звездочку ставим на заднее колесо, она приваривается намертво. Подобные звездочки можно заказать из Китая вместе с цепями. Что касается езды накатом, то у нас для этого предусмотрено центробежное сцепление.
Шаг второй. Нарезаем материал и свариваем раму
Также автор приварил к раме стальные пластины, которые понадобятся для крепления двигателя. Рулевое управление автор использовал готовое, для этого от старого велосипеда была срезана передняя часть рамы.
Шаг третий. Устанавливаем двигатель
Крутящий момент от вала мотора поступает на редуктор T8F, а он уже снижает обороты и увеличив крутящий момент, передает его через цепь на заднее колесо. Как итог, самокат получается довольно тяговитый, но не очень быстрый. Ну, здесь уже можно поиграть с передаточными соотношениями.
Шаг четвертый. Сидение и доработка рамы
Завариваем все открытые торцы труб, чтобы туда не набивалась грязь, и все хорошо зачищаем болгаркой.
Шаг пятый. Покраска, сборка, испытания
Самокат готов, заводим мотор и можно ехать. Разгоняется самоделка без проблем, прекрасно едет накатом. Конечно, скорость езды небольшая, но для безопасной езды, которая приносит удовольствие и пользу, этого вполне достаточно.
На этом проект завершен, надеюсь, вам самоделка понравилась, и вы нашли для себя полезные мысли. Удачи и творческих вдохновений, если решите повторить подобное. Не забывайте делиться с нами своими идеями и самоделками!
Становитесь автором сайта, публикуйте собственные статьи, описания самоделок с оплатой за текст. Подробнее здесь.
Принцип работы снегоуборочных аппаратов
Как уже говорилось выше, в конструкции машины два основных элемента: мотор и рабочий орган, с помощью которого захватывается снег. Чаще всего в его качестве используется шнек, который соединен с двигателем через ременную или цепную передачу. Чем быстрее вращается шнек, тем дальше аппарат выбрасывает снег в сторону.
Схема сборки шнека
При этом рабочий орган разделен на два участка, то есть, он разделен пополам. На каждом участке располагается шнек с разным расположением лопаток. С одной стороны они располагаются с наклоном влево, с другой вправо. Делается это для того, чтобы с краев захватывающего устройства снежная масса поступала к центру, откуда она и будет централизовано поступать в сборочный бункер.
Именно рабочий орган создает две группы снегоуборщиков, которые делятся на одноступенчатые и двухступенчатые.
Одноступенчатые
Эта разновидность очистку снега проводит только шнеком. Отсюда и небольшое расстояние выброса – до 5 м. Аппараты имеют небольшие габариты – ширина сборочного ковша не превышает 90 см, и небольшой вес – до 40 кг.
Эти агрегаты относятся к категории ручных, то есть, в их комплектацию не входит двигатель. Человек просто толкает аппарат, от колес которого до шнека проведена цепная передача.Она и является движущей силой. Чем быстрее толкает человек тележку, тем интенсивнее аппарат работает.
Одноступенчатый снегоуборщик
Используют их обычно для чистки катков, дорожек и небольших площадок, покрытых только что выпавшим снегом с небольшой толщиной покрова. В таких снегоочистителях в основном используются прорезиненные детали, которые быстро выходят из строя, если неправильно эксплуатировать ручной агрегат.
Двухступенчатые
Само название говорит о том, что кроме шнека в аппарате установлен еще один рабочий орган. Это крыльчатка (колесо с лопастями), с помощью которой снег можно выбрасывать на расстояние до 15 м. Есть в этой группе модели с ручным исполнением и с двигательным. Второй вариант предпочтительнее, потому что сам аппарат весит не меньше 75 кг, поэтому перемещать его, толкая руками, достаточно сложно.
Двухступенчатый
Комплектуются этот вид как электрическими двигателями, так и бензиновыми или дизельными. Они удобны в работе, у них более мощная конструкция, что позволяет убирать даже самые большие сугробы, плюс чисто конструктивно шнек располагается так, что он не касается твердой поверхности очищаемых плоскостей. То есть, его срок эксплуатации достаточно большой.
Говоря о снегоуборочных машинах для дома, изготавливаемых своими руками, надо учитывать сложность двухступенчатой конструкции. Поэтому оптимальный вариант – одноступенчатая.
Шнековая машина
Снегоуборочная техника для дома своими руками — полезная самоделка. Чтобы сделать снегоуборщик, надо для начала изучить механизмы. Снегоуборочный агрегат будет состоять из шнека, который находится внутри корпуса из металла. Это своеобразный стержень или вал, вдоль которого располагается спиральная поверхность. Вал вращается из-за подшипников и приводит спиральный профиль в действие. Правильно сделанный своими руками самодельный снегоуборщик станет незаменимым помощником зимой.
Одноступенчатая модель
По принципу действия приспособления для уборки снега могут делиться на двухступенчатые и одноступенчатые. Схема работы одноступенчатого аппарата заключается в «поглощении» и сбрасывании снега. Это достигается при помощи вращения шнека.
Рабочая кромка на аппарате бывает гладкой и зубчатой. Гладкая обычно применяется, чтобы убрать рыхлый снег, а зубчатая подходит для твёрдой корки, которая обледенела за ночь.
Если судить по весу, то шнековые агрегаты намного легче шнекороторных. Их недостаток заключается в том, что они несамоходные, поэтому человеку всегда нужно будет стоять у руля. Такая машина представляет собой большую лопату на колёсах, которую нужно постоянно подталкивать вперёд. Тогда она будет сгребать снег и выбрасывать его в установленную сторону.
Шнек приводится в действие бензиновым или электрическим двигателем, который может быть четырехтактным либо двухтактным. Такие машины стали очень популярны из-за лёгкого управления. Также к положительным моментам стоит отнести их компактность.
Двухступенчатый агрегат
Агрегат сконструирован несколько иначе, чем предыдущая модель. Первая ступень конструкции обеспечивает сгребание снега шнеком. Вторая ступень жёлобом будет выбрасывать снег. Это достигается при помощи снегоротора, который выполняет функции крыльчатки сброса.
Подобные модели устроены по принципу винтового вала, имеющего зубчатую или гладкую кромку. Шнеки исполняются:
- в металлическом или резиновыми варианте;
- из армированной стали;
- из резинопластика.
Выбор будет зависеть от предназначения самоходной машины.
Крыльчатка у двухступенчатой модели может иметь 3 или 6 лопастей. Они изготавливаются из разнообразного материала, зависящего от степени тяжести работы, которую предстоит выполнять с помощью агрегата. Чем сложнее работа, тем крепче стоит выбирать материал.
https://youtube.com/watch?v=1ZvLj8XtLco
Изящная туфелька – венерин башмачок. Знакомство

Биологические особенности
Корневище разветвленное, жесткое, укороченное. Стебли в зависимости от вида ростом 20-50 см. Опушены железистыми волосками. В середине спирально размешаются 3-4 листа эллиптической формы с заострением на вершине.
Крупное соцветие состоит из 1-3 бутонов, издающих приятный, слабый аромат ванильной сладости. Два боковых лепестка узкие, расходятся в стороны. Нижний – образует «губу» с закрытой полостью внутри. Верхний – как крышечка прикрывает «домик» от излишней влаги, солнечных лучей. В середине спрятаны тычинки с пестиком. Расцветка лепестков варьируется от вида: бледно-розовая, ярко-малиновая, желтоватая, коричневатая, белая. Иногда присутствует пятнистость. Бутоны распускаются в середине мая. Продолжают радовать глаз 2-3 недели. При успешном опылении образуются удлиненные плоды-коробочки, созревающие к концу лета.
Способ опыления, сбор семян
Интересно происходит процесс завязывания семян. Опылением занимаются мелкие летающие насекомые: жуки, мухи, пчелы. Яркая раскраска, приятный аромат, — привлекают ценителей прекрасного. В начале мая выходят на концах побега бутоны. Через неделю раскрываются в полной красе соцветия-ловушки. Порхающие «эльфы» присаживаются на гладкий край «кармашка», скатываются по скользкой «горке» внутрь полости. Пытаясь выбраться наружу, замечают два просвета по бокам. Направляются в указанном природой направлении, задевают сначала рыльце, оплодотворяя цветок принесенным материалом с другого экземпляра. Затем касаются пыльников, набирая новую порцию мужского семени. Не все насекомые благополучно выходят из «ловушки». Изучая растения, биологи находили опылителей внутри цветка. В качестве приманки башмачки используют хищные желтые пауки мизумены. Они подкарауливают свою добычу на входе, ловко расставляя сети над отверстием. Оплодотворенные экземпляры быстро вянут через 2-3 дня. Остальные соцветия стоят свеженькими до 3 недель. Процент завязавшихся семян небольшой. Чтобы увеличить выход посевного материала, селекционеры применяют искусственное опыление с помощью кисточки. Зернышки созревают в течение 2,5-3 месяцев. Во второй половине срока на коробочки надевают марлевые колпачки, чтобы избежать осыпание семян при полной спелости.
Предпочтения
Башмачок отлично растет на умеренно увлажненных почвах под пологом высокорослых растений в полутени. Для него подходят нейтральные или слабощелочные субстраты с легким составом. Не переносит близкое залегание грунтовой жидкости, подтопление весенними водами, низины, где скапливаются стоки от дождя. Корни при избыточном увлажнении поражаются гнилями. Отлично зимует в условиях Сибири, Средней полосы под естественным листовым опадом от деревьев.
Место в саду
Природный стиль сада отлично подходит для создания композиций с венериными башмачками. Легкое затенение лиственными деревьями придется по вкусу новому жителю. Не стоит размещать изящные растения под плодовыми культурами. Падалица с веток может повредить миниатюрные кустики. Низкие дикие травы станут хорошими соседями, имитируя природный ландшафт. На клумбе отлично сочетается с хостами, папоротниками, астильбами, примулами. Лесные орхидеи сажают рядом с растениями сходными к условиям обитания. Некоторые садоводы культивируют башмачки в контейнерной посадке, каждый год, меняя композицию.
Устройство роторного снегоуборщика своими руками
Основными составляющими самодельного роторного снегоуборщика своими руками являются:
- двигатель внутреннего сгорания, оснащенный глушителем;
- топливный бак;
- трос управления дроссельной заслонкой.
Для изготовления всех элементов снегоуборщика необходимо будет наличие токарного станка. Его используют для того, чтобы подогнать все детали механизма до нужного размера. Если такого оборудования нет в наличии, изготовление ротора можно заказать в мастерской по имеющимся у вас эскизам.
Мероприятия по устройству роторного снегоочистителя можно разбить на несколько этапов:
- сборка шнекового механизма;
- изготовление ротора;
- монтаж корпуса;
- устройство каркаса.
Изготовив каждый узел отдельно, их собирают в одну конструкцию. Чтобы снегоуборочная машина имела презентабельный вид, ее после сборки окрашивают.
Устройство самодельного роторного снегоуборщика: А — корпус; Б — диск ротора; В — ступица; Г — лопатка; Д — кольцо; Е — дефлектор; Ж — скребок; З — кронштейн; И — нож; К — полозья; Л — брусок ручки; М — подкос; Н — поперечный брусок; О — брусок для двигателя; П — ручка
Изготовление комплектующих для роторного снегоуборщика
Технология изготовления шнекового механизма аналогична устройству шнека для снегоуборочной машины из бензопилы. В качестве винтовых лопастей можно использовать плотную (толщиной 10 мм) транспортерную ленту. Габариты шнекового узла должны соответствовать размерам на чертежах.
Ротор изготавливают из листового металла толщиной 2,5-3 мм. С помощью циркуля необходимо начертить на листе круг нужного диаметра и вырезать его болгаркой. Чтобы сделать лопасти, за основу берут заготовочную деталь от электродвигателя. Из листового металла формируют лопасти. Их приваривают на равноудаленном расстоянии друг от друга к стальному диску, соединенному со ступицей. Количество лопастей должно быть не менее четырех.
Каркас для снегоочистителя собирают, сваривая отрезки из металлического уголка в раму согласно имеющейся схеме. Все составляющие каркаса крепятся посредством болтового соединения.
Для самостоятельной сборки снегоуборочной машины можно использовать подручные материалы
Когда все составляющие снегоуборщика будут готовы, приступают к их сборке в единый агрегат. На роторный механизм насаживают вал шнека. Затем весь этот механизм фиксируют на каркасе с помощью болтов и прижимного кольца. Крепление ротора к раме производится посредством специальной скобы. В качестве снегоотбрасывателя для самодельного роторного снегоуборщика используют трубу из пластика диаметром 100 мм.
Преимущества комбинированных моделей снегоуборщиков
В сравнении со шнековыми агрегатами снегоуборочные машины комбинированного исполнения более эффективны в работе, так как нагрузку распределяет между собой и шнек, и ротор. Они обладают достаточной мощностью и могут справиться с очисткой территории от снежной толщи внушительного объема. Среди преимуществ самодельных роторных снегоочистителей выделяют:
- отличную маневренность и высокую производительность техники;
- в зависимости от используемого двигателя, дальность выброса снега может достигать 12 м;
- возможность регулировать ширину захвата снежного покрова;
- небольшой вес машины (до 20 кг) позволяет справиться с очищением придомового участка (в том числе и женщине);
Процесс очищения придомовой территории от снега
- возможность проведения ремонта снегоуборщика своими руками;
- невысокая стоимость материалов для изготовления всех комплектующих агрегата.
Самостоятельное изготовление роторной снегоуборочной машины довольно сложное и кропотливое дело. Если вы плохо разбираетесь в технике, не обладаете определенными навыками или не имеете необходимого инструмента, а купить заводскую модель пока не позволяют финансы, можно изготовить своими руками снегоуборочную лопату.
Важные аспекты устройства
На самом деле для того чтобы убирать снег, может быть использован не весь мотоблок целиком, а один его двигатель, отдельно от машины. Корпус шнека может быть изготовлен из достаточно толстого куста металла, например, из бочки, а не только из кровельного железа. Рама и фанера пригодятся, чтобы создать правильные контуры его устройства. Если вы желаете придать большую эстетичность созданному вами агрегату, мы рекомендуем его покрасить в наиболее импонирующий вам цвет. Каждый из подшипников, используемый вами в конструкции, должен иметь закрытую конструкцию. Иначе на него попадет снег, подшипник может заклинить.
Поворотный желоб играет немаловажную роль в устройстве снегоуборщика. Он может быть создан вами собственноручно из уже готовой трубы с изгибом, либо согнуть из не слишком толстого листа металла. Желоб должен быть установлен в конструкцию с таким расчетом, чтобы его можно было быстро повернуть в течение нескольких секунд в диаметрально-противоположную сторону. В противном случае вы не сможете эффективно двигаться с мотоблоком из стороны в сторону, забирая по полосе снега за один проход. Вам придется каждый раз возвращаться в исходную позицию, иначе труба будет отбрасывать снег в ту сторону, которая была уже очищена от снега. Длина желоба напрямую влияет на дальность выброса снежной массы, имейте это в виду. Также помните, что дальность полета снега зависит и от мощности мотора, подаваемой на ротор.
Роторная насадка
Если у вас во дворе скапливаются большие объемы снега, то вам больше подойдет снегоотбрасыватель роторного типа. Если вы воспользуетесь таким снегоуборщиком для мотоблока с навесной насадкой, то сможете убрать достаточно большое количество снега высотой примерно 250 мм. Процесс уборки снега таким агрегатом достаточно интересный. Разброс снега производится очень мощно и стремительно. За короткий промежуток времени можно убрать достаточно большую территорию.
Но, это мелочь по сравнению с той работой, которую уборщик может выполнять. Для наглядности, перед покупкой можно ознакомиться с имеющимися в интернете материалами относительно роторных снегоуборщиков. На сайтах, занимающихся продажей мотоблоков и насадок к ним можно найти огромное количество фото, на которых изображены мотоблоки с установленными насадками. Каждый желающий сможет подобрать технику по своему вкусу.
Делаем сами
Если у вас нет возможности приобрести насадку для мотоблока для уборки снега, то вы можете изготовить снегоуборщик к мотоблоку своими руками. Можете быть уверены, что заводская насадка по функциональности не очень отличается от самодельной. Есть несколько вариантов насадок для мотоблока, которые можно сделать своими руками.
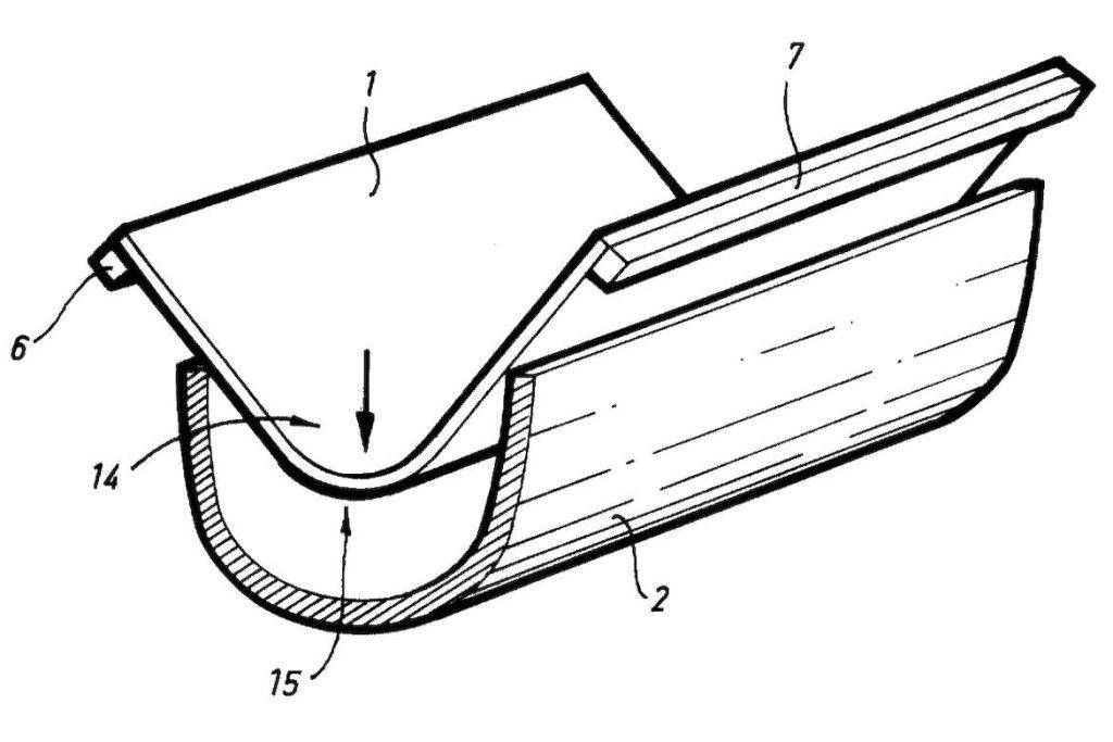
Первый вариант — это насадка бульдозерного типа. К мотоблоку, с помощью специального адаптера крепится отвал, как у бульдозера. Который производит захват снега. Металлический лист с заостренным окончанием служит так называемым ножом, который отрезает снежные пласты. Затем снег отводится в сторону. Все детали для насадки вырезают из стали, к которой крепят нож. Затем, с помощью кронштейнов и штанг крепят к мотоблоку.
Второй вариант несколько сложнее первого. Без инструкции и чертежа сделать такую насадку очень сложно. Инструкцию и схемы можно найти в интернете. Помимо статичной картинки, пользователям предлагает видео инструкция, воспользовавшись которой можно легко сделать такую насадку. Она работает по принципу роторной насадки и состоит из короба, шнека, трубы для выбрасывания снега, редуктора и вала. Все детали изготавливаются из стального металла. Все, что вам потребуется для работы – эт сварочный аппарат, чтобы соединять детали, а также болты и звездочка с цепью. В целом, можно сказать, что в итоге получается достаточно удобный и функциональный механизм, который отлично справляется с уборкой снега.
Третий способ изготовить насадку для мотоблока своим руками — это вентиляторный снегообрасыватель. Если сказать по-простому, то он устроен по принципу обычного вентилятора. Лопасти захватывают снег и отправляют его у трубу, которая выбрасывает снег на довольно приличное расстояние примерно 20-25 метров. Все зависит от мощности мотоблока. Устроена конструкция сложно и не каждому придется по силам изготовить его самостоятельно. Для этого необходимо обладать определенными знаниями, но попробовать стоит. Если вооружиться схемами, инструментами и терпением, то, в конечном счете, может получиться отличный снегоуборочный аппарат.
Последний способ изготовить самодельную насадку на мотоблок — это шнеково-вентиляторный агрегат для расчистки снега. Наверное, самый сложный вариант для простого человека. Если не уметь разбираться с схемах и чертежах, то запутаться можно с первой минуты. Для изготовления такой насадки стоит дополнительно воспользоваться фото и видео инструкциями. Так как наглядный пример поможет быстрее понять, что к чему крепится. Если просто объяснять на словах, понять что-то будет просто невозможно. Но если увидеть своими глазами, а вдобавок еще несколько раз пересмотреть, то в результате на свет появится отличный снегоуборщик, который прекрасно справляется с уборкой снега на большой площади. Такой снегоуборщик может легко справляться с высокими сугробами и заледенелыми слоями снега.
https://youtube.com/watch?v=EFAYQ7OWd24
Если вам необходима снегоуборочная насадка на мотоблок, и вы не знаете, как лучше поступить — купить заводскую насадку или сделать ее самостоятельно, сказать вам ответ на этот вопрос не сможет никто, кроме вас самих. Просто подумайте, под силу ли вам своими руками изготовить такую конструкцию. Если да, то отлично. Не стоит тратить деньги, сделайте все сами. Если же, вы не уверены в положительном результате, не рискуйте своим здоровьем и мотоблоком – купите готовую насадку и вперед, на борьбу со снегом.
Процесс переделки культиватора в снегоуборщик
В домашних условиях сделать снегоочистительную технику можно, используя самые неожиданные материалы: канализационную трубу, кровельный листовой материал. Прежде всего, делается выбор подходящего двигателя. Если культиватора нет в наличии, его можно приобрести. Когда уже имеется старый агрегат, нужно проверить его соответствие требованиям. Подходящие модели культиваторов можно выбрать из ассортимента устройств марки Хускварна, Чемпион, Техас. Насадка демонтируется, это позволяет освободить место для снегоуборщика.
Начертить схему-эскиз для будущей техники
Создается чертеж, он должен содержать габариты, дополнительные размеры и способ соединения. Чтобы переделать культиватор в мотоблок с отвалом, нужно продумать конструкцию, определить положение каждой детали.
Сделать раму
Берут трубы прямоугольного сечения с длиной стороны 25-40 мм. Из них собирают раму, для крепления элементов конструкции используется метод сварки. Мотор тяжелый, поэтому основание нужно укрепить, для чего применяют стальные уголки.
Изготовить ковш из листового металла
Берут стальной лист, с помощью листогибочного станка создают вогнутость, крепят боковые стенки, а затем делают в них отверстия. Здесь будет установлен вал, который выступает в качестве шнека. Конструкция соединяется с рамой при помощи профильных труб или пластин.
Ковш для снегоуборщика
Изготовить шнековый вал
Применяют трубу круглого сечения. Причем ее размер должен быть существенным, чтобы выдерживать значительные нагрузки. Рекомендуется рассмотреть возможность применения трубы диаметром 4 см. Для сравнения более узкая разновидность (диаметром 2 см) используется для изготовления ручки. По центру трубы диаметром 4 см делают отверстие, это необходимое условие для отбрасывания снега, с такой целью к отверстию крепится пластина размером 17х27 см. Используют металлическую ленту для изготовления лопастей.
Шнековый вал
Альтернативный вариант – установка двухзаходного шнека
Если снег по разным причинам сразу не попадает в лопатку подвижного элемента, применяют более совершенную конструкцию – двухзаходный шнек. Он состоит из больших лезвий диаметром 28 см. Особенность конструкции заключается в том, что двухзаходный шнек оснащается двумя спиралями.
Монтировать надежную платформу на раму
С помощью уголков на раму нужно крепить еще одну конструкцию – платформу для установки двигателя. Она также должна быть изготовлена из стали, для фиксации используют уголки, метод сварки. Переделка культиватора в снегоуборщик должна происходить с учетом особенностей работы мотора: чтобы сгладить биение во время его работы, предусматривают подложку между платформой и двигателем.
Установить закрытые подшипники
Для обеспечения подвижности вал должен быть оснащен подшипниками. Предпочтение отдают разновидности закрытого типа. С одной стороны трубы предусматривается возможность установки шпонки.
Подготовить лыжи для хорошего скольжения
Чтобы создать снегоуборщик из культиватора своими руками, необходимо обеспечить агрегату возможность беспрепятственного скольжения по снегу. Для этого крепят металлические пластины с небольшим изгибом в передней части или используют готовые пластиковые лыжи.
Сделать и установить желоб
Используют трубу, например, подойдет канализационная, т. к. она характеризуется большим диаметром, но можно приобрести готовое изделие. Рекомендованный размер – от 16 см и больше. Чем меньше диаметр желоба, тем хуже его проходимость. Трубу необходимо приварить к ковшу.
Желоб для выброса снега для снегоуборщика
Произвести покраску
Металлическая конструкция не может долго контактировать с влагой без последствий. Чтобы обеспечить защиту, ее нужно покрасить. Это можно сделать только после окончания сварки, дело в том, что необходимо сначала зачистить швы. Такая работа выполняется на подготовительном этапе, позволяет сделать снегоуборщик более эффективным, т. к. он будет служить намного дольше благодаря правильному уходу.
Изготовление своими руками
Чтобы сделать снегоуборщик своими руками, следует придерживаться инструкции. Любой снегоочиститель будет состоять из нескольких основных деталей. Их можно приобрести или самостоятельно сделать. Необходимые детали:
Колёсная рама, на которую крепится рукоять управления.
- Двигатель.
- Топливный бак (если машина имеет внутреннее сгорание).
- Ковш или лопата с лыжами.
- Труба для выброса собранного снега.
Обязательно нужно позаботиться о прочной платформе, которую можно будет легко передвигать.
Мотокультиватор можно использовать в зимних условиях для уборки снега с территории. Можно соорудить прибор при помощи специальных заводских снегоуборочных насадок. Но опытные мастера не рекомендуют тратить на это лишние средства, ведь можно аппарат собрать из мотоблока, а также подручных материалов. Существует несколько вариантов исполнения:
- Первый вариант представляет собой щётки, которые идеально подойдут для того, чтобы удалять недавно выпавший снег. Также аппарат можно использовать для уборки тех мест, где нужно быть особо аккуратным, чтобы не испортить различные декоративные площадки. Щётки необходимо прикрепить к шнеку. Ширина захвата должна составлять примерно 1 метр.
- Лопата с ножами. Можно с помощью такого оборудования убирать заледеневший снег с жёсткой корочкой. Эта приставка будет подсоединяться к тяговому устройству при помощи универсальной сцепки. Нижняя часть лопаты должна обязательно быть покрыта резиной, чтобы избежать повреждений. Аппарат станет сначала взрыхлять снег, а после захватывать его и выбрасывать с территории. Ширина захвата должна составлять 1 метр.
- Роторный агрегат — самый эффективный вариант. Его основным элементом является обычный шнек, дополненный лопастным колесом. При вращении снег попадёт в него, а затем переместится вверх. Когда снег пройдёт через раструб, он будет выкидываться за пределы очищаемой зоны. Этот вариант является самым производительным, он позволяет захватывать снежные глыбы, составляющие примерно 25 см в толщину. Именно этот вариант и следует изготовить.
https://youtube.com/watch?v=Ho6aT3aLcjw
Установка двигателя или использование мотоблока

Снегоуборщик из мотоблока
Если принято решение об изготовлении снегоуборщика своими руками на основании мотоблока, то отпадает вопрос о типе бензинового двигателя. Если будущий владелец решил строить снегоуборщик с самого начала то имеет смысл установить двигатель, демонтированный со старого мотоблока или газонокосилки. Для эффективной работы снегоуборщика достаточно мощности в 6,5 л/с. Для облегчения ремонта и обслуживания двигателя целесообразно устанавливать его на съемную платформу.
Установка электрического двигателя, с одной стороны, облегчит снегоуборщик, с другой внесет, ограничения на радиус его работы. Он будет ограничен длиной провода питания. Кроме того, на снегоуборщик должен быть установлен влагозащищенный двигатель.






































