Мастерим садовую дробилку в домашних условиях своими руками
Для изготовления утилизатора древесных отходов потребуется умение обращаться со сварочным аппаратом плюс небольшой опыт слесарных работ. Создание садового читтера проходит в несколько этапов. На первом проектируют конструкцию исходя из собственных требований и наличия материалов. На других приступают к изготовлению отдельных деталей, осуществляют сборку, настройку и испытание агрегата.
Необходимые материалы и инструменты
Для постройки измельчителя древесных отходов понадобятся:
- Стальной лист двух видов — 2 мм и 10 мм железный прокат. Толстый металл пойдёт на корпус агрегата, а тонкое железо понадобится для сборки подающего короба и защитного кожуха приводного механизма.
- Металлические уголки с полкой не менее 50 мм — для сварки станины (рама, на которой крепится сам механизм дробилки, приёмный бункер и электромотор);
- Цепная, ремённая или зубчатая передача. Для первых двух понадобится пара шкивов (звёздочек) и клиновидный ремень (цепь), тогда как для последней надо будет запастись двумя шестернями подходящего диаметра. Все эти комплектующие можно взять от газораспределительных механизмов автомобильных двигателей либо приводов старых комбайнов или другой сельхозтехники.
- Ножевой блок. В качестве режущих элементов можно использовать ножи, изготовленные из автомобильных рессор, дисковые пилы или фрезы.
- Рабочий вал. Скорее всего, эту деталь придётся заказать у токаря, предоставив ему чертёж. При проектировании не забудьте предусмотреть способ крепления ножевого блока и деталей привода. Лучше всего, если токарь сделает на валу продольный паз под шпонку.
- Подшипники и корпуса. Можно использовать как бывшие в употреблении, снятые с отслуживших механизмов, так и покупные.
- Колёса — лучше всего запастись парой прочных металлических колёс, наподобие тех, что используются в строительных тачках или старых тележках для перевозки грузов в магазинах или на вокзалах.
- Электродвигатель, магнитный пускатель и проводка.
- Болты и гайки — для крепления элементов конструкции.
Детали привода можно взять от автомобильной или сельскохозяйственной техники
Инструмент понадобится самый обычный, который всегда найдётся у любого мастерового хозяина:
- сварочный аппарат;
- электродрель с набором свёрл по металлу;
- угловая шлифмашина (в просторечье «болгарка»);
- точильный станок (наждак);
- набор гаечных ключей;
- молоток;
- металлическая линейка, рулетка;
- маркер по металлу (чертилка).
Кроме того, готовое изделие для защиты от атмосферных воздействий, а также в целях улучшения эстетики необходимо покрасить, поэтому понадобится преобразователь ржавчины, грунтовка и любая эмаль для наружных работ.
Подготовительные работы, чертежи
Как уже ранее говорилось, конструкция садового измельчителя включает станину, электродвигатель, корпус, рабочий вал (один или несколько) с установленными ножами и приёмный бункер. Конечный же вид готового изделия напрямую зависит от выбранной схемы и особенностей её реализации.
Важнейшим параметром, который учитывают при проектировании и изготовлении чертежей, является расположение рабочего вала и тип используемых ножей.
Чертёж садового шредера с использованием двух валов, выглядит так: в качестве корпуса взята пара стальных пластин толщиной не менее 10 мм, в которых профрезерованы отверстия под шарикоподшипники. Ножи закреплены со смещением относительно каждой оси механизма. Синхронность вращения валов обеспечивают закреплённые на них шестерни, на которые передаётся крутящий момент от электродвигателя. В конструкции может использоваться как цепной, так и ремённой. Расчёт межосевого зазора ведут исходя из размеров ножей, которые, в свою очередь, определяют максимальную толщину перерабатываемой древесины.
Садовый измельчитель – это механизм, предназначенный для переработки растительных отходов, образующихся при скашивании травяного покрова, санитарной либо ежегодной обрезке деревьев, винограда и различных кустарников. Полученные в итоге мелкие куски травы или веток можно использовать как корм скоту либо удобрения. Применение данного агрегата позволяет садовникам, владельцам дачных участков и любителям красивых газонов быстрее и с меньшим расходом труда избавляться от органического мусора. Устроен прибор относительно несложно, по этой причине его можно собрать своими руками без особых финансовых затрат из старых деталей и подручных материалов. Это позволяет сэкономить на покупке готового заводского устройства.
Из каких приборов можно сделать измельчитель своими руками
Для изготовления измельчителя для веток своими руками потребуется металл для станины, бункера для стружки и защитного кожуха, мотор (обычно используется от мотоблока или стандартный электрический двигатель), режущий механизм и метизы для сборки.
Болгарка
Измельчитель веток из болгарки по своей конструкции является самым простым. Для его сборки понадобится:
- аппарат для сварки;
- металл и уголок;
- оцинкованная выварка или куб;
- метизы (болты с гайками, шайбы, хомуты);
- ножи и втулки.

Готовый самодельный измельчитель из болгарки
Алгоритм сборки следующий:
- Шаг 1. Изготовление станины из металлического уголка. По форме она будет напоминать табуретку.
- Шаг 2. Установка бункера для подачи веток или ботвы. Выварка или куб монтируется на верхнюю часть станины, в ее дне прорезается отверстие для установки вала.
- Шаг 3. Монтаж рукава для выброса опилок. Для этого внизу выварки прорезается отверстие, куда устанавливается специальный рукав.
- Шаг 4. Установка болгарки. Она монтируется под вываркой на специальный вал и закрепляется метизами. На саму болгарку фиксируются ножи (это может быть стандартный нож, а может быть самодельно изготовленный из автомобильной рессоры). После этого болгарку можно включать в сеть и использовать в качестве измельчителя.

Простейшая схема дробилки из болгарки
Стиральная машина
Измельчитель из стиральной машины своими руками будет не слишком мощным, его можно будет применять только для утилизации травы, тонких ветвей, ботвы растений. Зато он прост в изготовлении. Как и в предыдущем случае при сооружении агрегата необходимо сварить станину, а на нее установить саму стиральную машину. В корпусе следует сделать отверстие для удаления опилок. Сам же каркас будет использоваться как бункер для веток и травы.
Далее к нижнему отверстию нужно смонтировать рукав для удаления опилок и щепы. Под корпусом следует установить режущий механизм. Ножи рекомендуется изготавливать из автомобильных рессор. По своему внешнему виду они похожи на ножи в блендере, но только размер их существенно больше. Устанавливаются ножи на втулку, которая с помощью ременной передачи соединяется с электродвигателем.
Монтаж режущего механизм является завершающим этапом. После него измельчитель можно включать и использовать в работе.
Рекомендуем посмотреть видео о том, как соорудить дробилку для веток своими руками.
Мотоблок
Алгоритм сборки похож на изготовление агрегата на базе болгарки или стиральной машины. В первую очередь так же варится станина, которая устанавливается на мотоблок. На нее устанавливается бункер, куда впоследствии будут помещаться ветки. Оттуда же через специальный рукав будут удаляться опилки и щепа.
Принцип работы аналогичен: мощность двигателя будет передаваться на вал с режущим механизмом через ременную передачу.
Мотоблок, как правило, бензиновый, поэтому для его работы необходимо топливо, масло и грамотное техническое обслуживание. Кроме того, данный вариант позволяет использовать мотоблок не только для измельчения веток, но и для других садово-огородных работ.

Веткодробилка, сооруженная из мотоблока
Другая техника
В качестве основы для измельчителя можно использовать и другие агрегаты:
- Перфоратор и схожие по конструкции инструменты. Алгоритм сборки в этом случае будет аналогичен изготовлению устройства из болгарки.
- Пылесос. Сборка — как при использовании стиральной машинки.
- Погружной насос. Главное условие – наличие вала отбора мощности, через который она будет передаваться на вал с режущим механизмом.
При работе с измельчителем необходимо соблюдать правила техники безопасности:
- накрыть устройство защитным кожухом для того, чтобы избежать травм вылетающими ветками и травой;
- носить защитные очки во время работы;
- избегать повышенной влажности в процессе эксплуатации, особенно, если измельчитель изготовлен из электроприбора;
- давать отдыхать устройству, в этом случае агрегат прослужит дольше.
Самостоятельное изготовление садового электрического измельчителя
Потребуются такие составляющие:
- Электродвигатель в 1,5−2 кВт.
- Фреза с крупными зубьями или 10 дисковых пил диаметром не больше 200 мм.
- Готовая ось или стальной круг с диаметром, который соответствует размеру посадочного места пил.
- Шайбы для разделения дисков (5−7 мм).
- Швеллер или уголок для станины.
- Ремень для передачи от мотора крутящего момента.
- Стальной лист, 5-миллиметровый диск для изготовления рабочего бункера и лист в 2−3 мм для направляющего раструба.
- Колеса от тележки.
Для работ понадобятся: крепежные элементы, болгарка, дрель, сварочный аппарат, другие инструменты.
Для измельчения веточек и травы можно сделать шредер примитивной конструкции, чей режущий механизм напоминает ножевую систему для измельчения капусты. Рабочий бункер выполняется из старой кастрюли или металлического ведра.
Ножевым механизмом может быть диск из металла с прорезями для ножей, либо заточенные пластины. Попадая в прорези, мусор измельчается и идет в боковое отверстие. Раструб выполняется так, чтоб пальцы не попадали на ножи.
Если перерабатываться будет толстая древесина, измельчитель должен быть массивным и устойчивым. Измельчительным механизмом станет фреза с крупными зубьями, покупающаяся на машиностроительном заводе или вытачивающаяся самостоятельно. Бункер изготавливается из листовой стали толщиной 5 мм. Мощность двигателя должна быть более 2 кВт.
Важная деталь — регулируемая опорная пластина, способствующая перемалыванию веток. При ее помощи регулируется размер измельченной щепы. Конструкция располагается на стационарном прочном основании без колес.
Ширина фрезы может быть разной, но с увеличением ее используется более мощный мотор. Если не получится найти фрезу достаточной ширины (40−50 см), можно на вал насадить несколько фрез одинаковых по форме и размеру.
Перед покупкой садового измельчителя с электромотором рекомендуется определиться с объемом предстоящих работ. Почитайте отзывы. Присмотритесь к отечественным агрегатам, они не хуже европейских моделей, но стоят гораздо меньше.
Поработал с Bosch AXT 25 D 2500 Вт, 40 об/мин, режущий валик, измельчает ветки до 4 см, весит 31,3 кг, автоматический затягивающий механизм. Хорошо режет сухие ветки действительно большого сечения (35−45 мм), но свежие ветви перерабатывает с большим трудом. Недоволен.
Артур
Сбылась мечта. Купил Викинг Г. Е. 103. Опасался, что будет шумным, но на даче работает генератор и измельчителя не слышно за ним. О включении говорит лишь генератор (звук меняется). 1800 Вт тянет.
Миша
Как сделать соломоизмельчитель своими руками
Если вам необходимо изготовить такой агрегат, который бы справлялся не только с измельчением травы, но и с шинковкой капусты и кукурузы, обработкой соломы, то необходимо использовать более мощные двигатели, предназначенные для переработки прочного и твердого сырья. Проще всего подобную соломорезку можно изготовить из старой стиральной машины.
Процесс изготовления такого сеноизмельчителя будет следующим:
- Вам понадобится старая стиральная машина, у которой имеется работающий электродвигатель. Дополнительно необходимо будет использовать еще один электромотор, который крепится в самом верху над крышкой стиралки. Зафиксировать дополнительный двигатель помогут металлические уголки и саморезы.
- Из стальной заготовки следует выполнить обоюдоострый нож, который размещается внутри барабана стиральной машины, не касаясь края ее стенок. Этот нож крепится к валу верхнего электродвигателя.
- Второй нож насаживается на штатный электродвигатель стиральной машины. Крутятся оба ножа в разные стороны, что обеспечивает отличное качество помола соломы и зерна.
- В верхней части стиральной машины выполняют небольшое отверстие, через которое внутрь барабана будут загружать солому и зерно.
- В нижней части барабана делают аналогичное отверстие, через которое будет выходить переработанное сырье.
- Оба двигателя запитываются через отдельные провода и подключаются к блоку управления с индивидуальными кнопками пуска.
Эта соломорезка будет работать по принципу простейшей кофемолки. Качество помола травы, соломы и зерна в таком оборудовании будет аналогичным заводским моделям, при этом затраты на его изготовление будут минимальными. При желании в интернете вы с легкостью найдете различные схемы исполнения соломорезок и кормодробилок, которые отличаются простотой в изготовлении и при этом являются надежным, долговечным и производительным оборудованием.
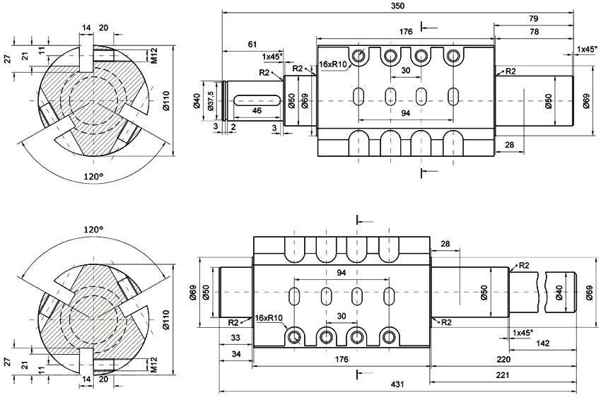
Инструкция по сборке двухвалкового шредера
Работы начинаются с создания рамы. Для этого с помощью угловой шлифмашинки из профильной трубы нарезаются две заготовки длиной 80 см и четыре детали длиной 40 см. Далее между двумя длинными заготовками под прямым углом сваривают короткие отрезки. Две внутренние детали должны размещаться на таком расстоянии относительно друг от друга, чтобы обеспечить надежную установку измельчительного барабана.

Чертеж для сборки валов двухвалкового измельчителя
Следующим этапом является создание валов для измельчительного барабана. Если планируется установить на один вал четыре ножа, то тогда используем квадратную металлическую заготовку. Делаем оба ее конца круглой формы, чтобы они смогли войти в подшипники. Для трех ножей понадобится круглая заготовка, в которой оттачивается центральная часть. В ней делается три плоских среза для последующей установки ножей.
Для создания ножей можно взять небольшой отрезок листа рессоры Камаза. В ножах делаются отверстия для болтов. Затем следует выполнить заточку ножей на точильном станке, где выбирается угол режущей кромки со значением 35-45 градусов. Далее заточенные ножи прикладываются к валу и помечаются места их крепления, в которых создаются отверстия, и нарезается резьба.
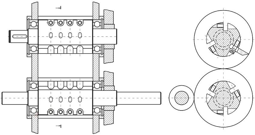
Далее приступаем к созданию измельчительного механизма. В двух металлических стенках с помощью сварочного аппарата делаются круглые отверстия для установки подшипников. С помощью специальных накладок и болтов устанавливаем подшипники внутрь металлических стенок. В подшипники вставляем валы, надежно закрепляя их. Они должны располагаться на достаточном расстоянии, чтобы исключить возможность их соприкосновения. Далее соединяются стенки барабана с помощью металлических шпилек с резьбой и гаек.

Чертеж расположения валов на раме двухвалкового шредера
Теперь приступаем к созданию приемного бункера. Для этого из тонкого листового металла вырезается четыре параллелепипеда. Далее каждый край загибается на 4 см. Короткий участок в одну сторону, длинный – в противоположную. С помощью самозатягивающихся заклепок или сварки соединяем все детали. На отогнутых краях у основания короба делаются отверстия для крепежа.
Теперь на валы надеваются шестеренки, для синхронизации движения, и вся конструкция устанавливается на раму и закрепляется при помощи болтов. Затем устанавливается двигатель, который соединяется с валом ременной передачей или цепью. Двигатель лучше брать большой мощности, но с малым числом оборотов. В конце устанавливается и закрепляется приемный бункер. Затем на все вращающиеся части шредера надевается защитный кожух во избежание попадания в измельчитель посторонних предметов.
Главными преимуществами такого агрегата является высокая мощность и техническая способность измельчить толстые ветки в диаметре от 20 до 80 мм. Это будет зависеть от количества ножей и числа оборотов. На многочисленных сайтах в сети интернет представлены подробные рекомендации, как сделать измельчитель веток своими руками. Видео примеры более наглядно отображают весь процесс сборки и монтажа самодельного устройства.

Двухвалковый измельчитель, сделанный своими руками
Как сделать самодельный измельчитель яблок
Помимо щепореза, в приусадебном садоводстве очень популярен эффективный и достаточно производительный измельчитель для яблок. Такой агрегат выполнить не слишком сложно, руководствуясь следующими рекомендациями:
- из листового метала d 80 мм на токарном станке выполнить ступени выхода для вала и под подшипники;
- на фрезерном станке изготавливается зубчатый вал с треугольными насечками по всей длине зубьев;
- для изготовления корпуса может использоваться наружная стальная часть старой стиральной машины с вертикальной загрузкой, сваренная в цельный короб;
- выполнение в коробе маленького зазора, который приходится на расстояние между рабочим валом и стенкой корпуса;
- для плавного вращения вала и надёжного его закрепления используются стандартные подшипниковые узлы из циркулярки;
- сваривание из уголков опорной рамы и выполнение деревянного основания для установки емкости под прием выходящей из измельчителя массы;
- применение специальной пускорегулирующей аппаратуры для обустройства блока управления, что позволит включать и выключать оборудование;
- фиксация ремня посредством специального болта и прикручивание на раму рукояти и роликов, упрощающих эксплуатацию агрегата.
На заключительном этапе, на верхние углы рамы, при помощи болтов, фиксируется корпус. Электродвигатель размещается в боковой части конструкции.
ВРЕМЕННО В РЕМОНТ НЕ ПРИНИМАЕМ
Измельчитель садовый – СПб – ремонт в Санкт-Петербурге от
У нас имеется склад необходимых запчастей и инструментов площадью 90м2.

Для просмотра этого видео включите Javascript или перейдите на браузер который поддерживает HTML5 video
Оформите заказ на ремонт садового измельчителя онлайн и получите скидку 10%
Вы можете переносить в место для хранения мусора твердые, тяжелые ветки и стебли. Либо же устраивать грандиозный костер, который ещё надо постараться разжечь. А можете превратить все это в легко перетаскиваемую пыль или опилки.
Весь секрет – в том, что у Вас есть измельчитель садовый. Или чиппер. Или шредер.
Но самое главное – Вы получившиеся остатки можете не выбрасывать, а использовать в качестве идеального и абсолютно натурального удобрения.
То есть, мульчу Вы можете получить не за несколько часов изнурительного труда, а за считанные минуты. И чтобы Ваш сад всегда оставался чистым, Ваш измельчитель садовый всегда должен оставаться работающим.

«Ленремонт» поможет Вам всегда иметь в наличии функционирующую технику!
Мы работаем как с любительскими моделями для домашнего использования, так и с профессиональными измельчителями.
То есть, у нас есть мастера, которые разбираются как в электрических двигателях, так и в бензиновых садовых измельчителях.
Впрочем, перед тем, как нести его нам, Вы можете сами попробовать некоторые простые действия при следующих неполадках:
- Двигатель не работает – проверьте напряжение в электрической сети, состояние кабеля питания. Ещё Вы можете нажать кнопку защиты от перегрузок – и измельчитель заработает. Также проверьте, правильно ли затянута зажимная рукоятка и установлена подающая воронка.
- Не измельчает механизм при работающем двигателе – это случается из-за загрязнившегося режущего механизма. Просто почистите его. Но если режущие ножи затупились – несите его нам, чтобы мы могли их заточить либо заменить.
- Отключается измельчитель – запустите его через минуту. Проверьте также состояние кабеля питания или вилки.

Ещё одна настоятельная рекомендация – раз в сезон проводите плановое техобслуживание чиппера или шредера. Об этом даже написано в инструкции.
А если Вам измельчитель садовый (СПб) понадобилось все же починить, то Вы всегда можете обратиться в «Ленремонт», где наши мастера-профессионалы в области садовой техники быстро и качественно устранят любую неполадку. После проведения диагностики и определения стоимости запчастей, клиент оплачивает стоимость запчастей до начала ремонта.
Так что если Ваши измельчители веток садовые не измельчают – звоните в «Ленремонт» по телефону. Мы разберемся!
Электрические приспособления
Принцип работы любой электрической траворезки прост. Свежескошенные или сухие растения помещают в резервуар, оснащенный режущими элементами. Ножи приводятся в действие электромотором. После обработки масса существенно уменьшается в объеме и становится пригодной для использования в качестве кормовой смеси, мульчи или закладки в компостную кучу. Загрузка и выгрузка сырья из аппарата происходит вручную.
Траворезка из электродрели
Владелец старой электродрели может собрать агрегат, в котором зелень будет измельчаться, как в блендере. На дно металлического ведра или цилиндрического бака насыпают небольшую порцию зеленой травы и включают дрель с насаженным самодельным ножом. Через одну-две минуты останется только высыпать из бака мелко нарезанную массу.
Схема изготовления:
- в центре ножа, изготовленного из металлической полосы, просверливают отверстие;
- нож надевают на металлический стержень;
- конец стержня закрепляют в головке дрели;
- на свободный конец стержня накручивают гайку, чтобы нож не слетел;
- нож опускают в ведро и включают дрель на большие обороты – на низких трава будет не измельчатся, а наматываться.
Шредер из пылесоса типа «Тайфун»
Пластиковый корпус пылесоса «Тайфун» подходит для изготовления бункера траворезки. Устройство с корпусом из пылесоса работает по тому же принципу, что и предыдущие, но имеет более высокую производительность и презентабельный внешний вид. Сырье в бункер подают сверху. Готовая резка выходит через боковое отверстие. Чтобы трава не разлеталась в разные стороны, на выходное отверстие надевают защитный кожух.
Всю конструкцию размещают стационарно, закрепив на каркасе, изготовленном из металлического уголка. Основание электрического шредера должно быть максимально устойчивым – это обязательное условие сохранности двигателя. Корпус агрегата прикрепляют к металлической подставке болтами. Для дополнительной защиты электродвигателя можно обшить станину листовым металлом, прикрепляя его саморезами.
Из двух старых ножовок изготавливают пару ножей и закрепляют их на дне бункера на втулке, выточенной на токарном станке. Длина втулки 40 мм. Чтобы привести ножи в действие, потребуется электродвигатель мощностью 180 Вт, снятый со старой стиральной машины. Шкив электродвигателя закрепляют шпильками под бункером. Ножи фиксируют гайкой М32. Резьбу на втулке нарезают еще во время ее изготовления. Шкив электродвигателя обтачивают болгаркой, делая на нем площадки для фиксации втулки.
Изготовление ножей:
- Из полотна ножовки вырезают две прямоугольные пластины.
- В центре каждой пластины пробивают квадратное отверстие.
- Ножи затачивают на станке.
Диаметр отверстия подбирают таким образом, чтобы нож плотно садился на вал электродвигателя. Ширина ножа зависит от жесткости и толщины полотна.
Способы утилизации древесины
Есть несколько способов утилизации древесных отходов. В настоящее время можно воспользоваться как сторонними услугами, так и избавиться от них подручными средствами:
- Можно использовать ветки как отопление для дачи или дома.
- Сервисные компании за отдельную плату прибудут на место и проведут полный комплекс технологических работ по утилизации, выдав соответствующую бумагу.
- Также можно развести костер на своем участке. Сжигать отходы нужно порциями, чтобы пламя было небольшим.
- Ветки можно переработать в садовый компост. Для этого можно воспользоваться щеподробилкой.

Щеподробилка — специальное оборудование для измельчения веток, которое можно приобрести в специализированных магазинах, а можно сделать самостоятельно. Конструкция очень простая: внутри корпуса крутится фреза, которая перемалывает ветки. Привод осуществляется за счет электрического или бензинового двигателя. Также есть ручные модели, но они менее эффективны.
Для начала потребуется изучить чертежи веткоизмельчителя, и своими руками тогда сделать его будет не так сложно. Можно использовать схему, где в качестве привода используется стандартная болгарка, так как ее мощности вполне хватает для перемалывания веток.
Типы измельчителей по мощности двигателя
Как уже было сказано, для небольших объёмов сырья вполне хватит двигателя средней мощности. А значит, можно использовать электромотор. Хотя такой шредер для сада требует подключения к электропитанию, конструктивно он проще бензинового, его легче изготовить своими руками.
В зависимости от мощности силовой установки, измельчитель способен обрабатывать ветки разной толщины. По данному показателю можно разделить шредеры на три категории:
- мощность двигателя до 1,6 кВт. Агрегата с такой силовой установкой будет достаточно для измельчения веток, диаметр которых не превышает 2 см. Такие устройства не подходят для высокоинтенсивной работы;
- мощность 3-4 кВт. Способны работать с материалом диаметром до 4-4,5 см;
- свыше 4 кВт. При помощи подобного устройства можно перемалывать поленья толщиной 7-14 см.
Имейте в виду, что мощные электромоторы нужно подключать к трёхфазной сети. При использовании домашней однофазной сети (220 В) выдаваемая мощность падает в 2 раза. Если нет возможности или желания оборудовать на участке трёхфазное питание, есть смысл рассмотреть вопрос сборки устройства на основе ДВС.
В зависимости от планируемых объёмов работ, для изготовления садового измельчителя своими руками можно использовать моторы от различных бытовых электроприборов:
- от угловой шлифмашины;
- триммера;
- стиральной машины (вместе с баком);
- мощный асинхронный трёхфазный двигатель (типа АИР 100 L4 4кВт на1500об/мин) и др.
Обратите внимание!
Скворечник своими руками: поэтапные схемы и чертежи для создания своими руками. Виды скворечников и материалов изготовления + идеи оформления
Ландшафтный дизайн своими руками: планировка и зонирование участка, выбор декоративных элементов. Новинки и идеи дизайна (фото + видео)
Откатные ворота на даче своими руками: варианты материалов сооружения, подготовка территории + поэтапная инструкция по работе своими руками
Из первых трёх моторов своими руками можно собрать разве что измельчитель травы и очень тонких веточек. А вот мощный асинхронный мотор способен превращать в мелкую стружку (при наличии качественного режущего элемента) довольно толстые чураки.
Особенности самодельных моделей
Любой шредер (как самодельный, так и покупной) должен компоноваться из нескольких базовых составляющих:
- стальной рамки, на которой и закрепляются все составляющие;
- электрического или бензинового движка;
- режущего механизма;
- защитного кожуха;
- главной передачи.
Помимо этого, не обойтись без пары емкостей: в первую будет закладываться обрабатываемый мусор, а во второй – складироваться получившиеся щепки. Самодельные модели отличаются режущим механизмом, а остальные элементы являются одинаковыми (только с разными размерами). Измельчение веток может проводиться при помощи 20 или 30 дисковых пил, которые оборудованы зубцами из твердых сплавов. Затем это может быть комбинация заточенных ножиков из углеродистой стали, закрепленных на валу. Мусор будет закладываться под прямым углом и измельчаться ножиками, которых присутствует от 2 до 6 штук.
Следующим вариантом измельчителя можно назвать дисковую дробилку, ветки в которую кладутся под углом от 30 до 45 градусов. Ножики в этом случае монтируются на стальном круге, закрепленном на валу. В более сложных вариациях имеется два вала, вращающихся синхронно. Ножики сходятся в одной точке, и дробят отходы. Древесину в этом случае следует складывать под прямым углом. Дисковые пилы рекомендуется применять, чтобы быстро и просто производить из отходов миниатюрную древесную стружку. Агрегат наподобие фуганка актуален при обработке тонких веток для получения более крупной фракции. Наконец, дисковая дробилка подойдет, чтобы разрубить ветки, диаметр которых превышает 5 сантиметров.
Преимущества и недостатки самодельного устройства
Достоинств у садового измельчителя, сделанного своими руками, немало:
- низкая стоимость по сравнению с оборудованием заводского производства;
- возможность создания конструкции под конкретные цели. Например, часто переработанные ветки используются как топливо, что требует особой настройки агрегата для получения обрезков увеличенного размера;
- в самодельной конструкции можно использовать детали, которые без труда найдутся в любом гараже или мастерской;
- сделанный своими руками шредер можно использовать не только для дробления веток, но и для измельчения травы, овощей и фруктов — в качестве корма для домашних животных или в целях утилизации;
- при самостоятельном изготовлении оборудования появляется возможность задействовать свой ум и эрудицию, применить собственные навыки и умения. Успешно работающая конструкция послужит доказательством вашей состоятельности, как хозяина, повысит самооценку, поднимет авторитет у соседей и знакомых.
Что же касается недостатков, то их практически нет. Единственное, что хотелось бы отметить — оборудование этого типа относится к категории опасных, поэтому при изготовлении агрегата следует предусмотреть конструктивные элементы, обеспечивающие снижение рисков, а в процессе эксплуатации придерживаться правил обращения с подобными механизмами.
Самодельный электрический измельчитель
Измельчитель своими руками можно изготовить при наличии необходимых элементов. Самым практичным считают веткодробилку состоящую из двух валов. Для изготовления создается чертеж, согласно которому производится сборка.
Первоначально подбирается необходимый материал и инструмент:
- электродвигатель номинальной мощностью до 4 кВт
- пару стальных пластин толщиной до 10 мм
- две шестерни из высокопрочной стали
- пару шкивов
- валы, закаленные и обработанные
- подшипники для надежного крепления валов
- непосредственно режущие лезвия из стали
- металлический корпус
- стальная труба необходимого диаметра
- набор гаечных ключей
- аппарат для сварки
- мощная дрель, либо перфоратор
Из квадратной заготовки вытачиваем валы с двух сторон. В центре сверлим отверстия для 4 ножей, в них нарезается резьба. Закругленные края вставляют в подшипники. Изготавливается барабан из 4 шпилек, и двух стальных пластин в которых прорезаются отверстия под подшипники.
Прочно закрепляют подшипники и шкивы на валу, с противоположной стороны устанавливают шестерни. На заранее подготовленную раму устанавливаем корпус с режущим механизмом и двигатель. Передача крутящего момента от привода будет производиться при помощи ремней через шкивы на валах двигателя и ножей.
Корпус приемника делают из листового металла, вырезанного в форме 4 трапеций. При помощи сварочного аппарата их скрепляют между собой в виде усеченной пирамиды. Короб соединяют с корпусом режущего механизма при помощи болтового соединения.
Садовый измельчитель из стиральной машины
Для сборки измельчителя веток своими руками необходимо провести следующие манипуляции:
- Из стиральной машины старого типа удаляется активатор.
- Заранее изготовленный нож устанавливают непосредственно на вал двигателя.
- Размер рабочего инструмента делают немного меньше диаметра барабана.
- В нижней части корпуса прорезается отверстие из которого будет высыпаться щепа.
- К отверстию присоединяется корпус.
Самодельный измельчитель из болгарки
Изготовление веткоизмельчителя своими руками из болгарки разделяют на несколько этапов:
- Берем бутыль 20 л, отрезаем нижнюю часть, а в верхней увеличиваем отверстие. Это будет приемник.
- С боку пропускаем ось устройства.
- Сверху на вал устанавливаем режущий элемент и надежно закрепляем всю конструкцию.
Дробилка из триммера
Для измельчителя веток изготовленного своими руками из садового триммера необходимо подготовить следующие необходимые элементы:
- емкость из пластика или металла объемом до 50 л
- несколько труб из металла диаметром до 20 мм
- стальную сеть площадью около 1 кв.м с мелкой ячейкой
- обрезок деревянной доски, либо фанеры
- необходимо приобрести металлические хомуты для креплений
- деревянные бруски и саморезы для их стяжки
- непосредственно сам триммер любой конструкции
В качестве вспомогательного инструмента рекомендуется подготовить:
- шуруповерт
- наковальня
- дрель
- электролобзик
- слесарный молоток
Для того, чтобы изготовить измельчитель необходимо следовать пошаговой инструкции:
- Первоначально подготавливают емкость веткоруба. Для этого на дне просверливают и вырезают отверстия в виде трапеций. Края обрабатываются.
- На дне закрепляется сетка при помощи брусков. Тем самым делается мембрана.
- Емкость располагают на небольшой высоте при помощи конструкции из труб.
- Двигатель триммера крепят на доске.
- Штангу устройства немного укорачивают и устанавливают также на основании с приводом.
- На торце штанги ставят режущий инструмент.
- Перед производством непосредственной работы необходимо провести испытания. Для измельчения веток различной толщины можно применять разные насадки.
Самодельный измельчитель травы из болгарки
Измельчитель травы из болгарки – это достаточно простой и быстро реализуемый вариант. Чтобы воплотить проект, потребуется запастись такими деталями и материалами:
- стальными уголками;
- металлической емкостью (обычной вываркой);
- самодельными либо готовыми ножами (например, от газонокосилки);
- крепежными элементами;
- листовой жестью.
Из инструментов потребуются:
- электродрель;
- сварочный аппарат и электроды к нему;
- угловая шлифовальная машина, чтобы резать уголки;
- гаечные ключи.
Чтобы собрать шредер своими руками на базе угловой шлифовальной машины, способный перемалывать не только траву, но и ветки до 4 см толщиной, рекомендуется воспользоваться электроинструментом с мощностью свыше 3 кВт.

Создание измельчающего агрегата производят в такой последовательности:
- нарезают болгаркой уголки на куски;
- из них сваривают раму, напоминающую стул;
- приваривают полку из куска листового металла;
- к сделанному каркасу (на подставку) прикрепляют болгарку хомутами, располагая ее валом к верху;
- прорезают сбоку выварки отверстие примерно 10 на 10 см;
- к прорези присоединяют рукав, например, из жести, по которому из емкости будет выдаваться перемолотая растительная масса;
- делают на дне выварки отверстие в центре;
- устанавливают емкость на вал болгарки и прикрепляют ее болтами или саморезами к металлической раме;
- ставят нож или диск на углошлифовальную машинку.
В итоге получится конструкция, представленная на фото далее.

Размеры уголков подбирают индивидуально, чтобы было удобно обращаться с механизмом.
Под трубу для выдачи измельченной травы с ветками подставляют ведро или другую емкость во время работы с агрегатом, чтобы переработанные растения не разлетались.
Созданное устройство можно усовершенствовать. Для этого потребуется насадка на вал болгарки длиной около 15 см с двумя ножами: на верхнем конце и посредине. Лезвия разделяют сеткой, закрепленной к стенке кожуха.

























































